Инструкция по обеспечению пожарной безопасности в вагонах пассажирских поездов
ОТКРЫТОЕ АКЦИОНЕРНОЕ ОБЩЕСТВО "РОССИЙСКИЕ ЖЕЛЕЗНЫЕ ДОРОГИ"
(ОАО "РЖД")
РАСПОРЯЖЕНИЕ
от 5 ноября 2009 г. № 2255р
О введении Инструкции по обеспечению пожарной безопасности в вагонах пассажирских поездов
В целях обеспечения пожарной безопасности в вагонах пассажирских поездов ОАО "РЖД":
1. Ввести в действие с 30 ноября 2009 г. "Инструкцию по обеспечению пожарной безопасности в вагонах пассажирских поездов" (далее Инструкция).
2. Начальнику Департамента пассажирских сообщений ОАО "РЖД" Верховых Г.В., первому заместителю генерального директора Федеральной пассажирской дирекции - филиала ОАО "РЖД" Никитину О.А., начальникам железных дорог - филиалов ОАО "РЖД", начальникам региональных дирекций по обслуживанию пассажиров обеспечить:
- изучение установленным порядком Инструкции работниками, связанными с ремонтом, модернизацией, техническим обслуживанием и эксплуатацией вагонов на вагоноремонтных и эксплуатационных предприятиях;
- соблюдение требований Инструкции.
3. Главному инженеру Федеральной пассажирской дирекции Казакову А.В. обеспечить тиражирование и рассылку Инструкции в причастные подразделения.
4. Контроль за исполнением настоящего распоряжения возложить на главного инженера Федеральной пассажирской дирекции Казакова А.В.
Вице-президент ОАО "РЖД" -
генеральный директор
Федеральной пассажирской дирекции
М.П. Акулов
ИНСТРУКЦИЯ ПО ОБЕСПЕЧЕНИЮ ПОЖАРНОЙ БЕЗОПАСНОСТИ В ВАГОНАХ ПАССАЖИРСКИХ ПОЕЗДОВ
1 ОБЩИЕ ПОЛОЖЕНИЯ
1.1 Настоящая инструкция разработана в соответствии с "Инструкцией по обеспечению пожарной безопасности в вагонах пассажирских поездов" утвержденной МПС России от 04.04.1997 г. № ЦЛ-ЦУО/448 и другими нормативно-правовыми актами в области пожарной безопасности и распространяется на пассажирские вагоны локомотивной тяги, предназначена для обеспечения пожарной безопасности в вагонах пассажирских, вагонах-ресторанах, багажных, вагонах-электростанциях, вагонах-клубах, служебно-технических и других вагонов эксплуатируемых ОАО "РЖД".
1.2 Пожарная безопасность пассажирских вагонов обеспечивается системами предотвращения пожара, противопожарной защиты и готовностью к действию средств пожаротушения.
Система пожарной безопасности должна:
- исключать возникновение пожара;
- обеспечивать безопасность пассажиров, обслуживающего персонала и материальных ценностей в случае пожара.
1.3 Инструкция обязательна для всех работников ОАО "РЖД" связанных с ремонтом, модернизацией, техническим обслуживанием и эксплуатацией вагонов на вагоноремонтных предприятиях, технических станциях, в пунктах формирования и оборота, на станциях по пути следования пассажирского поезда, при обслуживании вагонов, находящихся в отстое, а также для бригад пассажирских поездов, обслуживающих оборудование вагонов в пути следования.
1.4 Вновь разрабатываемые документы по ремонту и эксплуатации пассажирских вагонов, перечисленных в п. 1.1, в части обеспечения пожарной безопасности, должны соответствовать требованиям настоящей Инструкции и согласовываться с ФГП ВО ЖДТ России (Федеральное государственное предприятие "Ведомственная охрана железнодорожного транспорта Российской Федерации" далее по тексту - ведомственная пожарная охрана).
1.5 Ответственность за выполнение требований настоящей Инструкции по обеспечению пожарной безопасности, а также за наличие и готовность к действию средств пожаротушения возлагается на руководителей ремонтных и эксплуатационных предприятий, предприятий-арендаторов и лиц, выполняющих ремонт и техническое обслуживание вагонов.
1.6 Ответственность за обеспечение пожарной безопасности, а также за организацию тушения пожаров и эвакуацию пассажиров в пути следования пассажирских поездов возлагается на:
1) начальников пассажирских поездов;
2) поездных электромехаников;
3) проводников пассажирских вагонов;
4) приемосдатчиков груза и багажа багажных вагонов;
5) директоров вагонов-ресторанов и вагонов-буфетов;
6) старших механиков-дизелистов вагонов-электростанций, а также лиц, допущенных к обслуживанию вагонов-клубов и служебно-технических вагонов.
1.7 Работники, виновные в нарушении правил пожарной безопасности, в зависимости от характера нарушений и их последствий несут ответственность в соответствии с действующим законодательством Российской Федерации.
1.8 Каждый работник при проведении технического обслуживания и эксплуатации пассажирских вагонов обязан:
1) знать и выполнять правила пожарной безопасности, не допускать действий, которые могут привести к пожару;
2) выполнять требования технологических процессов и инструкций по обеспечению пожарной безопасности при подготовке вагонов в рейс;
3) знать место расположения средств пожаротушения и правила пользования ими.
1.9 Правом проверки противопожарного состояния поездов и вагонов в пунктах формирования, оборота и в пути следования обладают представители:
1) Ведомственной пожарной охраны на железнодорожном транспорте;
2) Департамента пассажирских сообщений ОАО "РЖД";
3) Федеральной пассажирской дирекции ОАО "РЖД";
4) Региональных дирекций по обслуживанию пассажиров железных дорог.
Проверки пассажирских поездов в пути следования осуществляются по согласованным графикам, утвержденным в установленном порядке.
Результаты проверки записываются в рейсовый журнал (рейсовый лист).
1.10 Руководители вагонных депо (участков), дирекций по обслуживанию пассажиров разрабатывают и согласовывают с ведомственной пожарной охраной на железнодорожном транспорте программу обучения и организации проведения занятий по мерам пожарной безопасности с работниками, связанными с эксплуатацией, техническим обслуживанием и ремонтом пассажирских вагонов согласно требованиям НПБ "Обучение мерам пожарной безопасности работников организаций", Приказ МЧС России от 12.12.2007 г. № 645.
Программы должны предусматривать изучение:
1) требований пожарной безопасности в вагонах, находящихся в пунктах формирования, оборота и в пути следования поездов;
2) мер пожарной безопасности в вагонах при техническом обслуживании и ремонте;
3) возможных причин возникновения пожара в вагонах и меры их предупреждения;
4) устройство средств пожаротушения, установок пожарной сигнализации и пожаротушения, находящихся в вагонах, принципа их действия и мер безопасности при их применении;
5) эвакуации пассажиров при возникновении пожара и в аварийных ситуациях;
6) порядка вызова подразделений противопожарной службы;
7) обязанностей начальника поезда, поездного электромеханика, проводников и других работников, перечисленных в п. 1.6, при возникновении пожара.
1.11 Программы обучения разрабатываются на основе конкретных материалов, относящихся к эксплуатируемым или ремонтируемым вагонам в данном депо (на заводе) или на участке. При обучении необходимо использовать технические средства обучения (компьютеры, телевидение и др.), натурные образцы, вагоны-тренажеры.
1.12 Работники, связанные с техническим обслуживанием и ремонтом вагонов, а также поездные бригады и работники вагонов-ресторанов должны проходить пожарно-техническую подготовку по программам, разрабатываемым начальниками соответствующих депо (участков), ремонтирующих и эксплуатирующих вагоны. Программы пожарно-технической подготовки должны соответствовать "Правилам пожарной безопасности на железнодорожном транспорте" № ЦУО-112 с изменениями и дополнениями, утвержденными указанием МПС России от 26.05.1998 г. № 616у. Лица, не прошедшие подготовку или не сдавшие зачеты по программам обучения, к работе не допускаются до устранения обстоятельств, являющихся основанием для недопущения к работе.
Тематический план типовой учебной программы для руководителей, лиц ответственных за пожарную безопасность при эксплуатации, техническом обслуживании и ремонте пассажирских вагонов представлен в таблице 1.
Таблица 1
| № темы | Наименование тем | Часы |
| 1 | Введение. | 1 |
| 2 | Общие понятия о горении, пожаре. Классификация пожаров по природе горючего вещества. Основные показатели пожароопасных свойства веществ и материалов. | 4 |
| 3 | Возможные причины возникновения пожара в вагонах и меры их предупреждения. | 1 |
| 4 | Установки пожарной сигнализации и пожаротушения. | 4 |
| 5 | Действия при пожаре. | 1 |
| 6 | Требования пожарной безопасности к путям эвакуации. | 1 |
| 7 | Меры пожарной безопасности при техническом обслуживании, модернизации и ремонте вагонов. | 2 |
| 8 | Практическое занятие. | 4 |
| 9 | Зачет. | 2 |
|
| Итого | 20 |
Начальники депо (участков), Дирекций по обслуживанию пассажиров своими приказами устанавливают:
1) порядок и сроки проведения занятий по разработанной программе пожарно-технического минимума;
2) место проведения;
3) список должностных лиц, на которых возлагается проведение занятий;
4) перечень работников, работников принятых временно, в том числе аутсорсинговых компаний, учащихся, студентов, прибывших на практику, а также прикомандированных лиц, связанных с техническим обслуживанием, эксплуатацией и ремонтом вагонов, которые должны проходить обучение;
5) порядок направления вновь принимаемых на работу для прохождения первичного противопожарного инструктажа.
1.13 Лица, назначаемые на должности начальников поездов, поездных электромехаников, проводников, директоров и работников вагонов-ресторанов, директоров вагонов-буфетов, старших механиков-дизелистов вагонов-электростанций, сдают экзамены в объеме настоящей Инструкции. Экзамены принимает комиссия, созданная при начальнике вагонного депо (участка) или начальнике резерва проводников с участием представителей ведомственной пожарной охраны. Экзамены сдают также лица, обслуживающие служебно-технические вагоны и вагоны-клубы.
Результаты экзаменов отражают в акте формы ТНУ-16. Лица, не сдавшие экзамены, к работе не допускаются до устранения обстоятельств, являющихся основанием для недопущения к работе.
1.14 Контроль за своевременностью и качеством проведения занятий по пожарной безопасности возлагается на лиц обладающих правом проверки противопожарного состояния пассажирских поездов и вагонов указанных в п. 1.9, а учет обучаемых - на лиц, назначаемых начальником вагонного депо (участка), резерва проводников, дирекций по обслуживанию пассажиров.
1.15 Периодичность проведения занятий с последующим принятием зачетов от работников, связанных с ремонтом, эксплуатацией вагонов по вопросам противопожарной защиты и действиям при возникновении пожара - не реже двух раз в год.
1.16 Вагоны, поступившие с вагоностроительных и вагоноремонтных заводов и предназначенные для обращения в поездах, должны быть укомплектованы средствами пожаротушения в соответствии с настоящей Инструкцией.
2 ОСНОВНЫЕ ПРИЧИНЫ ВОЗНИКНОВЕНИЯ ПОЖАРОВ В ВАГОНАХ ПАССАЖИРСКИХ ПОЕЗДОВ
2.1 Нарушение правил монтажа и неисправности электрооборудования:
- нарушения правил прокладки проводов, особенно при выходе их из труб или металлорукавов, а также соединение проводов пайкой или скруткой в непредусмотренных местах;
- установки аппаратов токовой защиты без проверки на соответствие номинальным данным плавких вставок предохранителей и без испытания автоматических выключателей и магнитных пускателей;
- отказов в электрической цепи или потребителе электроэнергии с перегрузкой проводов при завышенных номиналах или при нетиповых плавких вставках предохранителей, а также неисправном состоянии автоматических выключателей или магнитных пускателей;
- наличия в защищаемой цепи предохранителей с прогоревшими фибровыми корпусами или без наполнителя;
- неисправности дугогасящих устройств коммутационных аппаратов, приводящих к выбросу пламени;
- нарушения и пониженного сопротивления изоляции электрических цепей потребителей и систем электроснабжения, в том числе и источников питания;
- перенапряжения, возникающего при отказах регуляторов напряжения и неисправной защите;
- подключения к системе электроснабжения бытовых электроприборов, мощность которых выше установленной электросхемой вагона;
- слабой затяжки контактных соединений, приводящей к чрезмерному их нагреву.
К возникновению пожаров могут привести также и неисправности в подвагонном электрооборудовании:
- короткозамкнутые аккумуляторы в аккумуляторной батарее;
- пониженный уровень электролита в аккумуляторах;
- пониженная емкость аккумуляторной батареи;
- пониженное сопротивление изоляции аккумуляторной батареи;
- повышенный зарядный ток аккумуляторной батареи по причине неисправности блока управления зарядом или ограничителя тока батареи или генератора;
- неудовлетворительное состояние контактных соединений, выводов батареи;
- неисправная работа генератора (короткозамкнутые витки обмоток, износ электрических щеток и коллектора);
- прослабление контакта в пинцетах ножевых предохранителей аккумуляторной батареи и несоответствие номинала их плавких вставок;
- несоответствие плавких вставок и предохранителей, установленных в подвагонном высоковольтном ящике;
- плохое состояние высоковольтных и низковольтных проводов и их изоляции;
- плохое (неплотное) соединение проводов с аппаратами, приборами;
- плохое состояние контакторов, реле и других контактных аппаратов;
- отсутствие дугогасительных камер или неправильная их установка.
2.2 Неисправность печной разделки:
- отступления от требований норм на пожарную разделку вытяжных труб котлов отопления, печей и кипятильников.
2.3 Недосмотр за приборами отопления и электрооборудованием, неосторожное обращение с огнем проводников и пассажиров:
- нарушения правил пользования отопительными установками - растопки котлов, кипятильников без воды или с водой ниже допустимого уровня, с применением легковоспламеняющихся и горючих жидкостей;
- хранения около котла, кипятильника, кухонной плиты, печи, на электропечах и под ними обтирочных и других горючих материалов;
- оставления без присмотра действующих кухонных плит вагонов-ресторанов, печей для приготовления пищи и котлов отопления;
- применения открытого огня для разморозки труб;
- удаления шлака и золы при движении поезда, в том числе и с межвагонных переходных площадок;
- использования для приготовления пищи приборов, не предусмотренных конструкцией вагона;
- курения в неустановленных местах;
- провоза легковоспламеняющихся жидкостей.
2.4 Причиной возникновения пожаров также является выпуск из ремонта вагонов без испытания на правильность функционирования электрических аппаратов, определения выходных параметров систем электроснабжения (первичных и вторичных) и устройств защиты от перенапряжения непосредственно на вагоне.
3 ТРЕБОВАНИЯ ПО ОБЕСПЕЧЕНИЮ ПОЖАРНОЙ БЕЗОПАСНОСТИ
3.1 При подготовке вагонов в рейс
Учитывая, что одной из основных причин возникновения пожаров является неисправность электрооборудования, все электроустановки вагона должны быть оснащены аппаратами защиты от токов короткого замыкания и других аварийных режимов, которые могут привести к пожарам. Плавкие вставки предохранителей должны быть калиброваны и иметь клейма, с указанием номинального тока вставки, отвечающего номинальным значениям защищаемой цепи. Клеймо на плавкой вставке ставится заводом-изготовителем. Аппараты защиты должны быть в работоспособном состоянии.
3.1.1 Руководители структурных подразделений Федеральной пассажирской дирекции, структурных подразделений региональных дирекций, их заместители (главные инженеры) обязаны не допускать отправку в рейс пассажирских вагонов с неисправностями, которые могут привести к пожару, а также не имеющих полного комплекта первичных средств пожаротушения, с неисправной установкой пожарной сигнализации и пожаротушения и с неисправными аварийными выходами.
3.1.2 При приемке состава поезда постоянно действующей комиссией до отправления его с технической станции в соответствии с "Инструкцией по техническому обслуживанию оборудования" ответственными и контролирующими лицами по пожарной безопасности производится проверка качества подготовки вагонов в рейс.
При этом проверяются:
1) аппараты пультов управления электрооборудованием;
2) потребители электроэнергии;
3) выключатели и светильники;
4) ограждения (кожухи) электрических печей отопления и их заземляющие устройства;
5) уплотнения в подвагонных ящиках с электроаппаратурой и аккумуляторными батареями, состояние вентиляционного канала;
6) аппаратура в подвагонных ящиках и аккумуляторные батареи;
7) внутри поездная связь (проводник - начальник поезда - машинист локомотива), радиосвязь поездного пункта радиовещания и состояние установки пожарной сигнализации (УПС).
3.1.2.1 В пультах управления электрооборудованием вагонов в доступных местах (кроме опломбированных) осматривают состояние контактных соединений, жгутов с проводами и выводов электрических аппаратов, при этом проверяют:
1) соответствие плавких вставок предохранителей номинальному току защищаемой цепи, оговоренному в технической документации или в электрической схеме вагона;
2) работоспособность пакетных переключателей, тумблеров и автоматических выключателей;
3) состояние пломб на аппаратах регулирования, защиты, регулировочных резисторов и другого оборудования, где пломбирование предусмотрено конструкцией аппарата или оговорено в эксплуатационной документации. Аппараты с нарушенной или отсутствующей пломбой считаются неисправными. Они должны быть заменены на исправные, или проверены на соответствующих стендах и затем опломбированы;
4) наличие и срок годности самосрабатывающего огнетушителя.
3.1.2.2 В случае обнаружения в пультах управления электрооборудованием вагонов слабо затянутых или имеющих повышенный нагрев контактов, надрывов изоляции и обрыва проводов электрических аппаратов, а также при обнаружении методом выборочного контроля несоответствия номиналу плавких вставок предохранителей, производится повторное техническое обслуживание всего внутреннего оборудования вагона в соответствии с Инструкцией по техническому обслуживанию оборудования вагонов.
3.1.2.3 Оценка состояния изоляции производится по сигнальным лампам системы контроля замыкания проводов на корпус вагона (С.З.К.), находящимся на пульте управления электрооборудованием вагонов.
При исправной изоляции должен наблюдаться одинаковый накал (свечение) нитей обеих сигнальных ламп или светодиодов. Неодинаковое свечение ламп или светодиодов свидетельствует о неисправной изоляции электрических цепей вагона.
Вагоны с неисправной изоляцией электрических цепей отправлять в рейс запрещается.
3.1.2.4 Работоспособность потребителей электроэнергии проверяется путем включения и отключения их с пульта управления. При этом проверяется исправность переключателей и тумблеров, а также контролируется по амперметру потребляемый ток.
3.1.2.5 Проверяются межвагонные электрические соединения.
Запрещается оставлять межвагонные электрические соединения (штепсели, головки) не убранными в холостые розетки и защитные коробки. В отопительный период времени высоковольтная магистраль отопления между вагонами и локомотивом должна быть соединена в соответствии с требованиями Инструкции по техническому обслуживанию оборудования вагонов.
3.1.2.6 Осматриваются электрические печи отопления и электрокалориферы. Кожухи электропечей и электрокалориферов должны быть надежно закреплены и заземлены.
3.1.2.7 Осматриваются отопительные установки, кипятильники, кухонные плиты.
3.1.2.8 Осматриваются вентиляционные каналы, надпотолочное пространство тамбуров, проверяется степень очистки от пыли, горючих материалов и мусора.
В доступных местах осматриваются противопожарные разделки. Проверяется состояние топок, запорных механизмов дверок, по возможности колосниковых решеток, вытяжных труб, флюгарок и наличие пламеотражателей.
3.1.2.9 Проверяется отсутствие посторонних предметов в помещениях вагона, котельном отделении, в районе печи для приготовления пищи, нише для установки кипятильника, около кухонной плиты вагона-ресторана, в шкафах с электрооборудованием.
3.1.2.10 Проверяется работа вытяжной вентиляции над кухонными плитами, работающими на жидком и газовом топливе. Проверяется автоматика закрытия кранов подачи топлива при обрыве пламени горелки.
3.1.2.11 В вагоне-электростанции проверяется порядок хранения горючесмазочных материалов, обтирочного материала и состояние противопожарного инвентаря.
3.1.2.12 Поездную бригаду выборочно проверяют на предмет знания настоящей Инструкции, а также "Инструкции по сигнализации на железных дорогах Российской Федерации" от 26.05.2000 г. № ЦРБ-757 в части подачи звуковых сигналов при пожаре.
3.2 В пути следования
3.2.1 Ответственным за обеспечение пожарной безопасности запрещается:
1) включать под нагрузку силовую и осветительную сеть при наличии неисправного электрооборудования, а также оставлять работающее электрооборудование без присмотра;
2) заменять электрические лампы лампами, мощность которых выше установленной электросхемой вагона;
3) заменять сработавшие предохранители, не соответствующие установленному номиналу для данной цепи;
4) включать электроплитки и другие нагревательные приборы и электропотребители, не предусмотренные электрической схемой вагона;
5) хранить посторонние предметы в нишах с электроаппаратурой, складывать горючие материалы вблизи приборов отопления, электросветильников, газовых горелок и других бытовых приборов, предусмотренных конструкцией вагона;
6) вскрывать кожух, ремонтировать или регулировать электромеханический регулятор напряжения генератора на ходу поезда;
7) допускать эксплуатацию вагона с утечкой тока на корпус вагона;
8) включать потребители электроэнергии вагона без соответствующего контроля за показаниями приборов (вольтметра, амперметра);
9) включать электрокалориферы при не работающей вентиляции;
10) оставлять межвагонные электрические соединения (штепсели, головки) не убранными в холостые розетки и защитные коробки;
11) эксплуатировать неисправные аккумуляторные батареи и производить их зарядку неустановленным способом;
12) сушить одежду и другие вещи в котельных помещениях, на электрических печах, кухонных плитах, кипятильниках, дизель-генераторных установках и выпускных трубах.
3.2.2 При выполнении работ по содержанию и эксплуатации приборов отопления, кухонных плит и печей запрещается:
1) эксплуатировать кухонную плиту на жидком топливе в вагоне-ресторане при появлении:
- течи в топливопроводе;
- образовании трещин в топливном баке;
- неисправностях или отсутствии противопожарных фильтров в расходном или основном топливных баках;
- появлении трещин и отколов на чугунных плитах жарочной поверхности, колосниковых решетках и конфорках;
- неисправностей в регуляторах и заслонках дымоходов, духовок в плитах и водонагревателях, в горелках;
2) эксплуатация газовых плит в кухнях вагонах-ресторанах не оборудованных газоанализаторами;
3) применять для растопки котлов, кипятильников, плит, печей легковоспламеняющиеся и горючие жидкости (керосин, бензин, масло и др.) и сжигать в них топливо, не соответствующее эксплуатационной документации на вагон;
4) хранить около котла, в нише кипятильника, возле кухонных плит, на электропечах и под ними горючие предметы, материалы;
5) топить котел и кипятильник без воды или с водой ниже допустимого уровня, с неисправными дымовытяжными трубами, их кожухами, разделками, без флюгарок или с наращенными трубами; при отсутствии пламяотражателя в топке кипятильника, а также применять дрова, длина которых превышает размер топки;
6) выбрасывать на перегонах и на станциях в неустановленных местах шлак или золу, а также чистить котел при открытых тамбурных дверях при движении вагона. Выбрасывать шлак, золу и мусор следует только в предусмотренных для этого местах на станциях, указанных в расписании, пунктах формирования и оборота;
7) оставлять неочищенными от пыли и прочих горючих отходов и материалов надпотолочные пространства котельных, места расположения циркуляционных насосов отопления, вентиляционные дефлекторы.
8) оставлять без надзора действующие отопительные приборы, плиты и печи.
9) Эксплуатировать вагоны-рестораны с газовыми приборами для приготовления пищи с нарушениями требований Регламента 0105-2009 ПКБ ЦЛ".
3.2.3 Запрещается:
1) применять для приготовления пищи и других надобностей керосинки, примусы, спиртовые горелки, газовые приборы, а также утюги, электрические чайники, плитки и другие электробытовые приборы, не предусмотренные конструкцией или модернизацией вагона;
2) отогревать открытым огнем (факелом, раскаленными углями, нагретым в топке металлическим предметом) замороженные трубы водоснабжения, отопления и фановой трубы;
3) применять для освещения открытый огонь (свечи без фонарей, керосиновые лампы и т.п.);
4) курить в неустановленных для этих целей местах.
Курить разрешается в вагонах габарита РИЦ в рабочем тамбуре, в вагонах остальных типов только в нерабочем тамбуре, оборудованном пепельницами, не менее двух;
5) закрывать переходные тамбурные двери при неисправной вызывной сигнализации на внутренний замок "секретку";
6) загромождать вещами пути эвакуации пассажиров (большой коридор, малый коридор, косой коридор, рабочий и нерабочий тамбуры);
7) промывать бензином, керосином и другими легковоспламеняющимися и горючими жидкостями кузова и агрегаты вагона-электростанции;
8) ремонтировать электрооборудование при движении вагона, при работающих дизель-генераторах и необесточенных цепях;
9) допускать к посадке пассажиров с легковоспламеняющимися и горючими жидкостями.
3.2.4 При обнаружении неисправности электрического оборудования или возникновении короткого замыкания на землю любого из полюсов в электрооборудовании вагона (одна лампа на пульте управления погасла, другая горит полным накалом) проводник обязан отключить все потребители электроэнергии, кроме дежурного освещения (в ночное время) и цепей сигнализации, и вызвать поездного электромеханика или начальника поезда.
3.2.5 При необходимости ремонта электрооборудования пультов управления проводники вагонов, работники, перечисленные в п. 1.6 настоящей Инструкции, должны сообщить об этом электромеханику или начальнику поезда для совместного принятия мер по восстановлению работоспособности электрооборудования.
3.2.6 При срабатывании предохранителя генератора или аккумуляторной батареи при движении поезда поездной электромеханик на ближайшем ПТО проверяет состояние их цепей. Заменяет плавкую вставку предохранителя типовой и контролирует работу всего электрооборудования вагона во время движения поезда при скорости свыше 40 км/ч. В случае обнаружения трудноустранимых в рейсе отказов в цепях генератора и батареи, а также повторного срабатывания предохранителей, потребители электроэнергии переключаются на электроснабжение от исправного вагона. При переходе на электроснабжение вагона (не более одного) от исправного соседнего вагона электромеханик обязан сначала убедиться в полной исправности электрооборудования вагона, от которого предполагается брать электроэнергию. При отсутствии утечек тока на корпус в обоих вагонах подключить межвагонные соединения и включить пакетные выключатели соответственно "Подача в магистраль" и "Прием из магистрали".
После этого не менее 15 мин осуществлять непрерывный контроль за работой электрооборудования обоих вагонов.
Перевод цепей потребителей электроэнергии на питание от другого вагона оформляют актом формы ФМУ-73 за подписями начальника поезда, поездного электромеханика, проводников вагонов и работников, перечисленных в п. 1.6, аварийного и исправного вагонов.
3.2.7 Начальник поезда транслирует по отправлению поезда из пункта формирования и оборота, а в дальнейшем систематически по расписанию, радиопередачу "Информация для пассажиров", включающую "Правила соблюдения мер пожарной безопасности в поезде".
Один раз в сутки контролирует выполнение пожарной безопасности бригадой, обслуживающей поезд, и пассажирами с отметкой в бланках ЛУ-72 или ИНУ-4.
При нарушении требований пожарной безопасности начальник поезда принимает меры, предусмотренные настоящей Инструкцией, по обеспечению пожарной безопасности в вагонах пассажирских поездов.
3.2.8 Проводники вагонов обязаны контролировать выполнение требований пожарной безопасности пассажирами. Не допускать использование ими открытого огня, включения электроприборов, не предусмотренных схемой вагонов, провоза легковоспламеняющихся и горючих жидкостей, курения в неотведенных для этих целей местах, контролировать показания электроизмерительных приборов и сигнализации пульта управления электрооборудованием вагона, в том числе пожарной сигнализации.
3.2.9 При возникновении неисправности в вагоне, угрожающей жизни людей, безопасности движения, проводник обязан немедленно остановить поезд стоп-краном, по имеющейся в вагоне связи вызвать поездного электромеханика или начальника поезда.
4 ТРЕБОВАНИЯ ПОЖАРНОЙ БЕЗОПАСНОСТИ ПРИ ЭКСПЛУАТАЦИИ ВАГОНОВ-КЛУБОВ, ВАГОНОВ ТЕХНИЧЕСКОЙ ПРОПАГАНДЫ, ВАГОНОВ С КАБЕЛЬНЫМ ТЕЛЕВИДЕНИЕМ
4.1 Вагоны-клубы и вагоны технической пропаганды
4.1.1 Устройство и оборудование вагонов-клубов и вагонов технической пропаганды производятся только по чертежам или типовым проектам, согласованным с органами пожарной охраны в установленном законодательством Российской Федерации порядке.
4.1.2 Требования пожарной безопасности, изложенные в разделе 3 настоящей Инструкции, соответственно распространяются на вагоны-клубы и вагоны технической пропаганды.
4.1.3 Количество запасных выходов из зрительных и лекционных отделений вагона должно быть не менее двух, не считая выхода через тамбур.
Устройство одного выхода допускается при наличии в зале (отделении) не более 30 посадочных мест. Двери, предназначенные для эвакуации, должны открываться по направлению выхода из вагона. Ширина дверей должна быть не менее 1 м.
4.1.4 Киноаппаратное помещение должно быть отделено от зрительного или лекционного помещения противопожарной перегородкой и иметь самостоятельный выход наружу.
4.1.5 Стены, полы, потолки киноаппаратного помещения должны иметь предел огнестойкости Е 30/I 15. Фильмостаты или специальные металлические ящики с крышками для хранения фильмокопий должны иметь предел огнестойкости не ниже Е 15/I 15.
4.1.6 Работники киноустановок (киномеханики) два раза в год должны проходить проверку знаний правил пожарной безопасности. Результаты проверки фиксируются в талоне по технике пожарной безопасности.
4.1.7 В вагоне-клубе допускается только электрическое освещение (в том числе от аккумуляторных батарей) с закрытыми светильниками.
4.1.8 Обрывки и обрезки кинопленки следует складывать в специальный металлический ящик с плотно закрывающейся крышкой.
4.1.9 Для обслуживающего персонала вагонов-клубов и вагонов технической пропаганды на основании настоящей Инструкции разрабатывается и вывешивается на видном месте местная Инструкция с указанием конкретных действий по предупреждению пожаров и в случае их возникновения.
4.1.10 В вагонах-клубах и вагонах технической пропаганды запрещается:
1) курить в зрительных, лекционных залах и аппаратных помещениях;
2) затемнять окна ставнями, ставить на окна решетки, применять драпировки, не пропитанные огнезащитным составом, оставлять незакрепленными ковры и ковровые дорожки в зрительных и лекционных залах;
3) запирать двери во время проведения массовых мероприятий;
4) устанавливать в зрительных залах стулья, не прикрепленные к полу;
5) допускать к работе на киноустановке лиц, не сдавших зачет по технике пожарной безопасности до устранения обстоятельств, являющихся основанием для недопущения к работе;
6) хранить в аппаратном помещении посторонние вещи, промасленные обтирочные концы и спецодежду;
7) устраивать световые рекламы, иллюминации и новогодние елки;
8) допускать в зрительные, лекционные и другие помещения зрителей (слушателей) сверх указанного в паспорте (проекте) числа;
9) загромождать проходы и выходы;
10) оставлять работающие кинопроекторы во время демонстрации фильма без присмотра.
4.2 Вагоны с кабельным телевидением
Вагон с кабельным телевидением - вагон повышенной комфортности, в котором установлена система, позволяющая транслировать программы кабельного телевидения, а в каждом купе имеется телевизор.
4.2.1 Электрооборудование вагонов с кабельным телевидением должно соответствовать требованиям технической документации.
При этом должны быть выполнены следующие основные требования пожарной безопасности:
1) электромонтажные провода от одного места соединения до другого должны быть целыми, без повреждения изоляции, соединения проводов - клеммные.
Применение скруток и спаек проводов не допускается:
2) монтажные провода должны быть собраны в жгуты, скрепленные бандажами;
3) металлический корпус электрооборудования должен иметь заземляющий зажим; присоединение заземляющих проводников к корпусу электрооборудования должно быть выполнено резьбовым соединением; металлорукава и трубы должны быть заземлены на металлоконструкцию вагона;
4) для монтажа оборудования следует применять марки проводов, предусмотренные технической документацией.
4.2.2 Вагон должен быть оборудован установкой пожарной сигнализации.
4.2.3 Вагон должен быть оснащен средствами пожаротушения в соответствии с разделом 6 настоящей Инструкции.
4.2.4 Вагоны должны быть укомплектованы противопожарной грубошерстной тканью размером 2´2 м согласно таблицы 2 раздела 6 настоящей Инструкции.
5 ОБЯЗАННОСТИ ОБСЛУЖИВАЮЩЕГО ПЕРСОНАЛА ПРИ ОБНАРУЖЕНИИ ПОЖАРА
5.1 В случае срабатывания пожарной сигнализации, появления дыма или запаха гари в вагоне необходимо определить и осмотреть источник возможного возгорания, проверить исправность работы электрооборудования.
5.2 Порядок действия поездной бригады при обнаружении пожара в пассажирском вагоне приведен в приложении А настоящей Инструкции.
6 ОСНАЩЕННОСТЬ ВАГОНОВ СРЕДСТВАМИ ПОЖАРОТУШЕНИЯ И ПОЖАРНОЙ СИГНАЛИЗАЦИИ
6.1 Вагоны пассажирских поездов обеспечиваются огнетушителями, пожарным инвентарем, оборудованием и ручным инструментом согласно "Нормам оснащения объектов и подвижного состава федерального железнодорожного транспорта первичными средствами пожаротушения".
Выбор типа и размещение огнетушителей осуществляться согласно требованиям Свода Правил "Техника пожарная. Огнетушители. Требования к эксплуатации" СП 9.13130.2009 утвержден и введен в действие Приказом МЧС России от 25 марта 2009 г. № 179.
6.1.1 В пассажирских, багажных, вагонах-клубах, вагонах с кабельным телевидением, вагонах-ресторанах, вагонах-электростанциях и других вагонах применяются следующие средства пожаротушения:
- огнетушители ручные углекислотные ОУ-5 или ОУ-6;
- огнетушители ручные порошковые ОП-5 или ОП-10 или другие аналогичного типа;
- огнетушители ручные воздушно-пенные ОВП-5 или ОВП-10 или огнетушители водные мелкодисперсные типа ОВМ-5 или ОВМ-10 или огнетушители воздушно-эмульсионные ОВЭ-5;
- огнетушители самосрабатывающие порошковые ОСП-1;
- генераторы огнетушащего аэрозоля оперативного применения АГОС-5.
Нормы оснащения и место установки в пассажирских вагонах огнетушителей и генераторов АГОС-5 приведены в таблице 1.
Таблица 1 - Нормы оснащения пассажирских вагонов огнетушителями
| Наименование вагона (ЦМВ) | Класс пожара | Место установки огнетушителей в вагоне | Огнетушители, шт. на один вагон | Генераторы огнетушащего аэрозоля оперативного применения АГОС-5, шт. ** | ||
| порошковые ОП-5 (ОП-10) или другие аналогичного типа | Воздушно-пенные ОВП-5 (ОВП-10) или водные мелкодисперсные ОВМ-5 (ОВМ-10) или воздушно-эмульсионные ОВЭ-5 | Углекислотные ОУ-5 или ОУ-6, | ||||
| 1 | 2 | 3 | 4 | 5 | 6 | 7 |
| Пассажирский с водяным или комбинированным отоплением* | А, Е | В малом коридоре со стороны тамбура: |
|
|
|
|
| рабочего |
| - | 1 |
| ||
| нерабочего |
| 1 | - |
| ||
| В служебном купе |
|
|
| 1 | ||
| Пассажирский с электроотоплением 3000 В* | А, Е | В малом коридоре со стороны тамбура: |
|
|
|
|
| рабочего |
| - | 2 |
| ||
| нерабочего |
| 1 | - |
| ||
| В служебном купе |
|
|
| 1 | ||
| Габарита "РИЦ"* | А, Е | В боковом коридоре: |
|
|
|
|
| со стороны служебного отделения |
| - | 1 |
| ||
| со стороны нерабочего тамбура |
| 1 | - |
| ||
| В служебном купе |
|
|
| 1 | ||
| Багажный* | А, В, Е | В коридоре со стороны рабочего тамбура | 1 | - | - |
|
| В багажной кладовой | - | 1 | 1 |
| ||
| В служебном купе |
|
|
| 1 | ||
| Вагон-ресторан: |
|
|
|
|
|
|
| с плитой на жидком топливе* | А, В, Е | На перегородке столовой напротив распределительного шкафа | - | - | 2 |
|
| В среднем коридоре котлового тамбура | 1 | - | - |
| ||
| В коридоре некотлового тамбура | - | 1 | - |
| ||
| В служебном купе |
|
|
| 1 | ||
| с плитой на твердом топливе и электроплитой * | А, Е | На перегородке столовой напротив распределительного шкафа | - | - | 2 |
|
| В коридоре со стороны котлового тамбура | 1 |
|
|
| ||
| В боковом коридоре со стороны некотлового тамбура | - | 1 | - |
| ||
| В служебном купе |
| 1 | - | 1 | ||
| с плитой на газовом оборудовании * | А, С, Е | На перегородке столовой напротив распределительного шкафа | - | - | 2 |
|
| В коридоре со стороны котлового тамбура | 1 | 1 | - |
| ||
| В боковом коридоре со стороны некотлового тамбура | - | 1 | - |
| ||
| В служебном купе |
|
|
| 1 | ||
| Вагон с буфетным помещением* | А, В, Е | В малом коридоре со стороны тамбура: |
|
|
|
|
| рабочего | 1 | - | - |
| ||
| нерабочего | - | 1 | - |
| ||
| в буфете | - | - | 1 |
| ||
| В служебном купе |
|
|
| 1 | ||
| Вагон-клуб* | А, В, Е | В большом коридоре вблизи служебного купе | 1 | - | - |
|
| В киноаппаратной | - | - | 2 |
| ||
| В косом коридоре | - | 1 | - |
| ||
| В кухне | - | 1 | - |
| ||
| В зрительном зале | - | 1 | - |
| ||
| В служебном купе |
|
|
| 1 | ||
| Вагон-: лаборатория, динамометрический, автотормозной, контактной сети, технической пропаганды, весоповерочный, весоизмерительный* | А, В, Е | В малом коридоре со стороны тамбура: |
|
|
|
|
| рабочего | - | - | 1 |
| ||
| нерабочего | - | 2 | - |
| ||
| В служебном купе |
|
|
| 1 | ||
| Вагон-электростанция | А, В, Е | В коридоре напротив служебного отделения | - | 1 | - |
|
| В отделении управления | 1 | - | - |
| ||
| В машинном отделении | - | - | 1 |
| ||
| В слесарной мастерской | - | 1 | - |
| ||
| В служебном отделении | - | - | 1 | 1 | ||
| Служебные пассажирские вагоны* | А, В, Е | В малом коридоре со стороны тамбура: |
|
|
|
|
| рабочего | - | - | 1 |
| ||
| нерабочего | - | 1 | - |
| ||
| В служебном купе |
|
|
| 1 | ||
| Пассажирский вагон, временно занятый под жилье* | А, В, Е | В малом коридоре со стороны тамбура: |
|
|
|
|
| котлового | - | - | 1 |
| ||
| некотлового | - | 1 | - |
| ||
| В служебном купе |
|
|
| 1 | ||
| Пассажирский вагон узкой колеи* | А, В, Е | В малом коридоре со стороны тамбура: |
|
|
|
|
| рабочего | - | - | 1 |
| ||
| нерабочего | - | 1 | - |
| ||
| В служебном купе |
|
|
| 1 | ||
| Передвижная подзарядная станция | А, С, Е | В малом коридоре со стороны тамбура: |
|
|
|
|
| котлового | 1 | - | 1 |
| ||
| некотлового | - | 2 | - |
| ||
| В служебном купе |
|
|
| 1 | ||
| Магазины, раздатчики и другие предприятия торговли и службы материально-технического обеспечения | А, В, Е | В малом коридоре со стороны тамбура: |
|
|
|
|
| котлового | 1 | - | - |
| ||
| некотлового | - | 1 |
|
| ||
| в торговом зале | - |
| 1 |
| ||
| В служебном купе |
|
|
| 1 | ||
| Бытовая летучка | А, В, Е | В малом коридоре со стороны тамбура: |
|
|
|
|
| котлового | 1 | - | - |
| ||
| некотлового | - | 1 | - |
| ||
| в зале | - |
| 1 |
| ||
| В служебном купе |
|
|
| 1 | ||
| Для перевозки спецконтингента | А, Е | В малом коридоре со стороны тамбура: |
|
|
|
|
| рабочего | - | - | 1 |
| ||
| нерабочего | - | 1 |
|
| ||
| Пригородные и рабочие поезда из вагонов с деревянным и металлическим кузовом | А, Е | На поезд | 1 | 4 | 1 |
|
| Поезда для массовой перевозки людей в приспособленных вагонах | А, В | На поезд | - | 2 | 1 |
|
| * - Огнетушитель самосрабатывающий порошковый (ОСП) устанавливается в шкафу управления электрооборудованием вагона при проведении ремонтных работ в заводских условиях. Огнетушитель устанавливается на пассажирских вагонах постройки до 1996 г. в количестве двух штук. ** - столбец 7 вводится в действие с 1 октября 2011 года. | ||||||
6.1.2 Вагоны-клубы, вагоны с кабельным телевидением, вагоны-электростанции, багажные и другие, кроме огнетушителей, оснащаются оборудованием и ручным инструментом, нормы оснащения и место расположения которых приведены в таблице 2.
Таблица 2 - Нормы оснащения пассажирских вагонов инвентарем и другими средствами пожаротушения
| Наименование вагона | Место установки | Наименование инвентаря и единица измерения, шт. | ||||
| Ящик с песком и лопата | Грубошерстная ткань (войлок или кошма) размером 2´2 м | Ведро пожарное | Топор ТПП | Лом ЛПУ (багор) | ||
| Вагон-клуб | Киноаппаратная | 1 | 1 | - | - | - |
| Кухня | - | - | 1 | 1 | 1 | |
| Вагон с кабельным телевидением | Служебное купе | - | 2 |
| - | - |
| Багажный | Котельное отделение | - | - | - | 1 | 1 (1) |
| Вагон-электростанция | Машинное отделение | - | 1 | - | 1 | - |
| Поезд для перевозки людей в приспособленных вагонах | На поезд | - | - | 4 | 1 | 1 |
6.2 Устройство огнетушителей, их технические характеристики и описание работы, приведено в приложении Б настоящей Инструкции.
Содержание, обслуживание и ремонт огнетушителей приведены в приложении В настоящей Инструкции.
6.3 Пассажирские вагоны, кроме указанных в п.п. 6.1.1 и 6.1.2 первичных средств пожаротушения, оборудуются установками пожарной сигнализации (УПС) и пожаротушения (УПТ), способными обнаруживать, оповещать о возникновении пожара на стадии загорания в контролируемых помещениях вагона и тушить очаги пожара в начальной стадии.
Описание работы УПС приведено в приложении Г настоящей инструкции.
6.4 В каждом вагоне, в пульте управления электрооборудованием, в соответствии с проектом Л 1.002 и ТУ 32 ЦЛ 0001-94 устанавливаются огнетушители самосрабатывающие порошковые ОСП-1 в соответствии с проектом на тип вагона.
Описание работы ОСП-1 приведено в приложении Д настоящей Инструкции.
6.5 Каждый вагон в составе пассажирского поезда обеспечивается не менее чем двумя изолирующими самоспасателями для защиты органов дыхания и зрения людей при эвакуации из помещений во время пожара (СПИ-20, СПИ-50, ГДЗК и др.).
Описание устройства СПИ-20 приведено в приложении Е настоящей Инструкции.
Приложение А
(обязательное)
| Выписка из "Регламента действий поездной бригады при обнаружении возгорания пассажирского вагона" Утвержденного приказом ФПД № 282 от 10.09.2008 г. |
ПОРЯДОК ДЕЙСТВИЯ ПОЕЗДНОЙ БРИГАДЫ ПРИ ОБНАРУЖЕНИИ ПОЖАРА В ПАССАЖИРСКОМ ВАГОНЕ
А.1 В случае обнаружения пожара проводники обязаны:
При обнаружении задымленности в вагоне, появлении запаха дыма или открытого огня во время следования поезда дежурный проводник, немедленно вызвав проводника, находящегося на отдыхе, обязан:
- остановить поезд стоп-краном (за исключением случаев, когда поезд находится в тоннеле, на мосту, виадуке, акведуке, путепроводе или под мостом и в других местах, где затруднена эвакуация пассажиров и имеются препятствия для тушения пожара).
В случае, когда возникновение пожара обнаружено при нахождении поезда в местах, исключающих его остановку, он должен быть остановлен немедленно после проследования этих мест;
- обесточить вагон (в светлое время суток), а в ночное время отключить все потребители кроме цепи аварийного освещения и приступить к тушению пожара.
Дежурный проводник приступает к тушению пожара соблюдая правила личной безопасности в изолирующем самоспасателе (СПИ-20 или др.) первичными средствами пожаротушения и установкой пожаротушения с использованием запаса воды из системы вагона (кроме электрощита вагона и агрегатов находящихся под напряжением).
В случае срабатывания установки пожарной сигнализации (УПС) дежурный проводник вагона должен убедиться в достоверности ее показания и в случае обнаружения пожара принять вышеуказанные меры, а в случае ложного срабатывания вызвать электромеханика поезда;
Второй проводник в это время обязан вызвать по цепочке через проводников соседних вагонов или по внутрипоездной связи начальника поезда и поездного электромеханика и сообщить машинисту локомотива. Открыть и зафиксировать тамбурные боковые и торцевые двери (а при отсутствии высокой платформы и фартуки) обоих тамбуров в аварийном вагоне и закрепить их фиксаторами. Открыть аварийные двери (окна) где они предусмотрены конструкцией вагона, при отсутствии аварийных выходов в вагоне и невозможности эвакуации пассажиров через тамбурные двери, разбить или открыть окна, расположенные за очагом пожара. Открыть двери всех купе, объявить и организовать эвакуацию пассажиров.
Примерный текст оповещения пассажиров:
"Граждане пассажиры! В связи с возможной опасностью пожара прошу срочно покинуть вагон. Все двери и аварийные выходы открыты".
При эвакуации пассажиров проводники аварийного и соседнего вагонов должны не допуская паники и встречного движения вывести пассажиров в соседние вагоны и на полевую сторону путей.
В зависимости от места возникновения пожара эвакуацию пассажиров производить с учетом того, что огонь распространяется в противоположном направлении по ходу поезда.
Второй проводник - после эвакуации пассажиров обязан закрыть торцевые тамбурные двери на соседних и на горящем вагонах и приступить к тушению пожара. Во время тушения пожара, после эвакуации пассажиров, торцевые тамбурные двери должны быть закрыты до окончания тушения пожара.
Второй проводник приступает к тушению пожара в изолирующем самоспасателе (далее - самоспасатель) первичными средствами пожаротушения и установкой пожаротушения с использованием запаса воды из системы вагона (кроме электрощита вагона и агрегатов находящихся под напряжением), а также после эвакуации пассажиров - аэрозольными генераторами оперативного применения.
Проводники приступают к тушению пожара, не дожидаясь прибытия начальника поезда и поездного электромеханика.
При этом в целях соблюдения личной безопасности проводники должны помнить продолжительность времени защитного действия самоспасателя указанного в паспортах к этим средствам защиты.
При обслуживании тремя проводниками двух вагонов: два проводника выполняют работы в аварийном вагоне (согласно выше описанным действиям), третий проводник помогает эвакуации пассажиров, затем выполняет распоряжения начальника поезда по участию в тушении пожара и ликвидации его последствий.
А.2 Действия дежурного проводника соседнего вагона
Получив информацию о пожаре, проводник обязан сообщить по цепочке проводнику следующего вагона, либо по телефонной связи.
Разбудить отдыхающего проводника, предупредить о возникновении пожара в соседнем вагоне и возможной эвакуации и размещении пассажиров в его вагоне.
Направить отдыхающего проводника к горящему вагону с огнетушителями и самоспасателем по полевой, стороне пути.
Объявить и организовать эвакуацию пассажиров, открыть тамбурные боковые, торцевые двери.
После полной эвакуации пассажиров из своего вагона приступает к тушению пожара горящего вагона.
А.3 Действия отдыхающего проводника соседнего с горящим вагоном
Получив сообщение от дежурного проводника о пожаре - обязан взять огнетушители и доставить их к горящему вагону выйдя на полевую сторону пути.
Оказывать помощь при тушении пожара и эвакуации пассажиров горящего вагона, действовать по указанию начальника поезда.
А.4 Дежурный проводник хвостового вагона обязан:
Сообщить отдыхающему проводнику.
Привести в действие ручной тормоз.
Оградить свой и соседний путь согласно ИСИ, по указанию ЛНП. Отдыхающий проводник хвостового вагона берет огнетушители и прибывает к горящему вагону и действует по указанию начальника поезда.
А.5 Дежурные и отдыхающие проводники остальных вагонов обязаны: (кроме дежурного проводника головного вагона) прибыть к горящему вагону с огнетушителями или другими средствами пожаротушения и действовать по указанию начальника поезда.
А.6 Начальник поезда обязан:
Немедленно прибыть к месту задымления, либо пожара с огнетушителями или с другими средствами пожаротушения, самоспасателями и носимой радиостанцией.
Лично убедиться в полной эвакуации пассажиров из вагона, используя для этих целей самоспасатель.
Вызвать по радиосвязи через локомотивную бригаду территориальное пожарное подразделение или пожарный поезд, сообщить по мобильному телефону или другими средствами связи оперативному дежурному ФПД:
- номер поезда;
- местонахождение;
- свою фамилию, имя, отчество, номер мобильного телефона;
- обстоятельства случившегося.
Принять меры к расцепке состава и отводу горящего вагона на расстояние, исключающее возможность перехода огня на соседние вагоны (не менее 10 м.) или близко расположенные здания и сооружения, а также обеспечить беспрепятственный подъезд передвижных средств пожаротушения. При этом машинист и помощник машиниста локомотива обязаны действовать по указанию начальника поезда.
После расцепки состава потребовать через машиниста локомотива снятия напряжения с контактной сети.
Организовать ограждение хвостовой части состава и горящего вагона поезда на перегоне согласно требованиям Инструкции по сигнализации на железных дорогах Российской Федерации от 26.05.2000 г. № ЦРБ-757, а также закрепление оставленной группы вагонов и загоревшегося вагона в соответствии с Инструкцией по движению поездов и маневровой работе на железных дорогах Российской Федерации от 16.10.2000 г. № ЦД-790;
До прибытия территориального пожарного подразделения или пожарного поезда организовать работу поездной бригады и принимать все зависящие меры по эвакуации пассажиров и ликвидации пожара, используя все имеющиеся средства пожаротушения и индивидуальной защиты.
А.7 Поездной электромеханик обязан:
Немедленно прибыть к месту задымления, либо пожара с огнетушителями и другими средствами пожаротушения, а также со самоспасателем.
Убедиться в том, что вагон обесточен (в светлое время суток), а в ночное время отключены все потребители, кроме цепи аварийного освещения.
Удалить предохранитель аккумуляторной батареи (далее - АБ) на пульте управления (по возможности) и в обязательном порядке предохранитель, расположенный в коробке на аккумуляторном ящике (с целью полного обесточивания системы электроснабжения вагона).
По указанию начальника поезда и под его руководством - выполнить расцепку состава и отвод горящего вагона на расстояние, исключающее возможность перехода огня на соседние вагоны и близко расположенные здания и сооружения, а также обеспечить беспрепятственный подъезд передвижных средств пожаротушения, действуя при этом в следующей последовательности:
а) пройти к кабине локомотива и взять у машиниста или его помощника ключ высоковольтного отопления поезда;
б) посмотреть в справке формы ВУ-45 потребное количество осей для безопасного закрепления состава на перегоне (станции) и дать команду проводникам о закреплении каждой группы вагонов ручными тормозами (башмаками) после изоляции горящего вагона;
в) разъединить высоковольтную магистраль головного вагона поезда и электровоза (при этом на электровозе предварительно должны быть опущены токоприемники);
г) отцепить вагоны, стоящие за горящим вагоном, для чего поднять переходные площадки горящего вагона, разъединить межвагонные соединения с обоих концов горящего вагона, перекрыть концевые краны, разъединить тормозные рукава, привести в действие автотормоза оставляемой на месте части поезда, повернуть рычаг автосцепки горящего вагона в положение расцепа, проследить за тем чтобы часть поезда вместе с горящим вагоном продвинулась локомотивом на расстояние не менее 10 м;
д) отцепить загоревшийся вагон от поезда, для чего перекрыть концевые краны загоревшегося и соседнего вагонов, разъединить тормозные рукава, привести в действие автотормоза загоревшегося вагона полным открытием концевого крана и повернуть рычаг автосцепки в положении расцепа, головную часть вагонов продвинуть на расстояние 15-20 м.;
е) до прибытия территориального пожарного подразделения или пожарного поезда принимать все возможные меры по эвакуации пассажиров и тушения (локализации) очага возгорания (задымления), используя все имеющиеся средства пожаротушения и индивидуальной защиты.
А.8 В вагоне-ресторане
В период работы вагона ресторана, первый из обнаруживших пожар работников поездной бригады обязан остановить поезд стоп-краном за исключением случая, когда поезд находится в тоннеле, на мосту, виадуке, путепроводе или под мостом и в других местах, не допускающих эвакуацию пассажиров и препятствующих тушению пожара (поезд должен быть остановлен немедленно после проследования этих мест); затем сообщает о пожаре всем дежурным работникам вагона ресторана (на кухне и в зале).
Сторож (во время его отдыха официант) обязан:
- подготовить пути эвакуации;
- оповестить по цепочке поездную бригаду (вызывает ЛНП и ПЭМ);
- приступить к тушению пожара.
Рабочий по кухне:
- подготавливает пути эвакуации со стороны кухни;
- оповещает по цепочке поездную бригаду (вызывает ЛНП и ПЭМ);
- приступает к тушению пожара.
Повар:
- приступает к тушению пожара.
Директор вагона-ресторана (в случае его отсутствия - официант) обязан:
- оповестить посетителей о необходимости эвакуации;
- обесточить вагон нажатием на аварийную кнопку и удалить предохранители АБ на пульте управления;
- руководить эвакуацией посетителей;
- после эвакуации приступает к тушению пожара.
Официант:
- помогает эвакуации посетителей;
- после эвакуации приступает к тушению пожара.
В нерабочее время:
Сторож вагона-ресторана:
- останавливает поезд стоп-краном за исключением случая, когда поезд находится в тоннеле, на мосту, виадуке, путепроводе или под мостом и в других местах, не допускающих эвакуацию пассажиров и препятствующих тушению пожара (поезд должен быть остановлен немедленно после проследования этих мест);
- обесточивает вагон нажатием на аварийную кнопку и удалением предохранителя АБ на пульте управления (в ночное время - только нажатием на аварийную кнопку);
- оповещает о пожаре поездную бригаду (со стороны расположения штабного вагона);
- перекрывает торцевую дверь и открывает боковые;
- приступает к тушению пожара.
А.9 В багажном вагоне, следующем в составе пассажирского поезда
Дежурный приемосдатчик груза и багажа в поездах обязан:
- остановить поезд стоп-краном за исключением случаев, когда поезд находится в тоннеле, на мосту, виадуке, путепроводе или под мостом и в других местах, не допускающих эвакуацию пассажиров и препятствующих тушению пожара (поезд должен быть остановлен немедленно после проследования этих мест);
- сообщить отдыхающему приемосдатчику;
- обесточить вагон нажатием на аварийную кнопку и удалить предохранители АБ на пульте управления (в ночное время - только нажать на аварийную кнопку);
- приступить к тушению пожара.
Отдыхающий приемосдатчик груза и багажа в поездах:
- выходит на полевую сторону ж/д пути и сообщает о возгорании проводнику первого вагона;
- приступает к тушению пожара.
А.10 В почтовом вагоне, следующем в составе пассажирского поезда
Проводник-электрик обязан:
- остановить поезд стоп-краном за исключением случая, когда поезд находится в тоннеле, на мосту, виадуке, путепроводе или под мостом и в других местах, не допускающих эвакуацию пассажиров и препятствующих тушению пожара (поезд должен быть остановлен немедленно после проследования этих мест);
- обесточить вагон нажатием на аварийную кнопку и удалить предохранители АБ на пульте управления (в ночное время - только нажатием на аварийную кнопку);
- приступает к тушению пожара.
Заместитель начальника почтового вагона:
- выходит на полевую сторону ж/д пути и сообщает о возгорании проводнику ближайшего пассажирского вагона;
- приступает к тушению пожара.
Начальник почтового вагона организует тушение пожара.
Обязанности других членов поездной бригады при возгорании в вагоне - ресторане, багажном и почтовом вагонах соответствуют их обязанностям при возгорании пассажирского вагона.
До прибытия территориального пожарного подразделения или пожарного поезда поездная бригада должна принимать все зависящие от нее меры по спасению пассажиров и ликвидации пожара, используя все имеющиеся средства пожаротушения и индивидуальной защиты.
Сразу после ликвидации пожара составляются соответствующие документы.
Приложение Б
(справочное)
ПЕРЕНОСНЫЕ ОГНЕТУШИТЕЛИ, ИХ УСТРОЙСТВО И РАБОТА
Огнетушитель - переносное или передвижное устройство, предназначенное для тушения очага пожара оператором за счет выпуска огнетушащего вещества, с ручным способом доставки к очагу пожара приведения в действие и управления струей огнетушащего вещества.
Переносной огнетушитель - огнетушитель с полной массой не более 20 кг, конструктивное исполнение которого обеспечивает возможность его переноски и применения одним человеком.
Б.1 Классификация переносных огнетушителей
Переносные огнетушители (далее - огнетушители) предназначены для тушения пожаров классов А, В, С, Е.
Огнетушители в зависимости от применяемого огнетушащего вещества (ОТВ), подразделяют на следующие виды:
- водные (ОВ):
с распыленной струей - средний диаметр капель спектра распыления воды более 150 мкм (могут тушить только модельные очаги пожара класса А);
с тонкораспыленной струей - средний диаметр капель спектра распыления воды более 150 мкм и менее (могут тушить только модельные очаги пожара класса А и В);
- воздушно-эмульсионные (ОВЭ) с фторсодержащим зарядом;
- воздушно-пенные (ОВП), в том числе: с фторсодержащим или другим зарядом, которые в зависимости от кратности образуемого ими потока воздушно-механической пены подразделяются на:
огнетушители с генератором пены низкой кратности - кратность пены не более 20;
огнетушители с генератором пены средней кратности - кратность пены свыше 20 до 200 включительно;
- порошковые (ОП):
с порошком общего назначения, которым можно тушить очаги пожаров классов А, В, С, Е;
с порошком общего назначения, которым можно тушить очаги пожаров классов В, С, Е;
- газовые, в том числе:
углекислотные (ОУ);
хладоновые (ОХ).
По принципу создания избыточного давления газа для вытеснения ОТВ огнетушители подразделяют на следующие типы:
- закачные (з);
- с баллоном высокого давления для хранения сжатого или сжиженного газа (б);
с газогенерирующим устройством (г).
По возможности перезарядки огнетушители подразделяют на:
- перезаряжаемые;
- неперезаряжаемые (однократного пользования).
По величине рабочего давления огнетушители подразделяют на:
- низкого давления [Pраб£ 2,5 МПа при температуре окружающей среды (20 ± 2) °С];
- высокого давления [Pраб > 2,5 МПа при температуре окружающей среды (20 ± 2) °С].
В зависимости от вида заряженного ОТВ, огнетушители используют для тушения одного или нескольких пожаров следующих классов:
А - горение твердых веществ;
В - горение жидких веществ;
С - горение газообразных веществ;
D - горение металлов или металлосодержащих веществ (огнетушители специального назначения);
Е - пожары электрооборудования, находящихся под напряжением.
Б.2 Огнетушители углекислотные
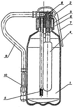
Переносные огнетушители углекислотные ОУ-5 и ОУ-6 предназначены для тушения загораний различных веществ, горение которых не может происходить без доступа воздуха, загораний на электрифицированном железнодорожном транспорте и электроустановок, находящихся под напряжением не более 1000 В.
Огнетушители ОУ-5 и ОУ-6 в зависимости от места установки изготовляются в транспортном исполнении, с кронштейном для крепления на вагонах. На рис. Б.1 и Б.2 представлено устройство огнетушителей.
|
|
|
|
| 1 - баллон; 2 - запорно-пусковое устройство; 3 - раструб |
| 1 -баллон; 2 -запорно-пусковое устройство; 3 - шланг; 4 - раструб |
|
|
|
|
| Рис. Б.1 - Огнетушитель ОУ-5 |
| Рис. Б.2 - Огнетушитель ОУ-6 |
Огнетушитель представляет собой стальной баллон, в горловину которого ввернуто запорно-пусковое устройство (ЗПУ) с раструбом (огнетушитель ОУ-5), а ОУ-6 оборудован шлангом с раструбом.
На рис. Б.3 представлено ЗПУ нажимного типа.

1 - предохранительная мембрана; 2 - клапан; 3 - рычаг; 4 - шток; 5 - корпус; 6 - отверстие для предохранительной чеки; I - рабочее положение рычага.
Рис. Б.3 - Запорно-пусковое устройство нажимного типа
Порядок приведения огнетушителя в действие
Для приведения огнетушителя в действие необходимо:
- сорвать пломбу и выдернуть чеку;
- направить раструб на очаг пожара;
- нажать на рычаг ЗПУ.
Подводить струю углекислого газа (снега) к огню нужно с края. При пользовании огнетушителем баллон нельзя наклонять в горизонтальное положение, так как при этом не обеспечивается нормальная работа огнетушителя.
Технические характеристики
| Наименование показателей | Значение показателей | |
| ОУ-5 | ОУ-6 | |
| Вместимость корпуса, л | 5 | 6 |
| Вид огнетушащего вещества | Двуокись углерода сжиженная | |
| Продолжительность подачи огнетушащего вещества при температуре 20±5 °C, с, не менее | 9 | 10 |
| Длина струи огнетушащего вещества при температуре 20±5 °C, минимальная, м | 3,0 | 3,0 |
| Масса огнетушащего вещества, кг | 3,5±0,1 | 4,2±0,1 |
| Продолжительность приведения огнетушителя в действие, не более, с | 1,0 | |
| Огнетушащая способность по классу В (м2), не менее | 34В(1,1) | 34В(1,1) |
| Масса огнетушителя полная (без кронштейна), не более, кг | 13,3 | 14,5 |
| Источник рабочего газа | закачной | |
| Диапазон температур эксплуатации, °C | минус 40 - плюс 50 | |
| Длина шланга с раструбом, не менее, м | - | 1,0 |
| Рабочее давление баллона, не менее, МПа (кгс/см2) | 15 (150) | |
| Средний срок сохранности огнетушащего вещества, лет | 2,0 | |
| Срок службы огнетушителя, лет | 10 | |
Б.3 Огнетушители порошковые
Огнетушители порошковые общего назначения предназначены для применения на объектах народного хозяйства, в том числе и на железнодорожном транспорте, в качестве первичных средств тушения пожаров классов А (твердых веществ), В (жидких веществ), С (газообразных веществ) и электроустановок, находящихся под напряжением до 1000 В (в зависимости от применяемого огнетушащего порошка).
Огнетушители не предназначены для тушения загораний щелочных и щелочноземельных металлов (класс D) и других материалов, горение которых может проходить без доступа воздуха.
Б.3.1 Огнетушитель унифицированный ОПУ-5 (ОПУ-10) и ОП-5(г) (ОП10(г)) (рис. Б.4) состоит из корпуса 1, наполненного огнетушащим порошком. На горловине корпуса посредством накидной гайки 2 закреплена головка 3. На головке установлены баллон 4 (источник рабочего газа), сифонная 5 и газоотводящая трубки 6, рукоятка запуска 7, связанная с иглой 8.

1 - корпус; 2 - гайка накидная; 3 - головка; 4 - баллон; 5 - трубка сифонная; 6 - трубка газоотводящая; 7 - рукоятка запуска; 8 - игла; 9 - рукав гибкий; 10 - распылитель пистолетный
Рис. Б.4 - Огнетушители ОПУ-5 (ОПУ-10), ОП-5(г) и ОП-10(г)
Огнетушитель оснащен гибким рукавом 9, пистолетом-распылителем 10, состоящим из гильзы 1 (рис. Б.5), подвижного подпружиненного штуцера 2, ручки 3, рассекателя 4 и сопла 5.

1 - гильза; 2 - штуцер; 3 - ручка; 4 - рассекатель; 5 - сопло
Рис. Б.5 - Пистолет-распылитель
Порядок приведения огнетушителя в действие
Для приведения огнетушителя в действие необходимо:
- сорвать пломбу и выдернуть чеку;
- повернуть рукоятку запуска;
- направить пистолетный распылитель на очаг пожара;
- нажать ручку распылителя.
Принцип работы пистолета распылителя позволяет выпускать порошок порциями.
Принцип действия огнетушителя основан на использовании энергии сжатого газа для аэрирования и выброса огнетушащего порошка.
Данные огнетушители относится к группе огнетушителей, у которых газ находится в отдельном баллоне высокого давления, размещенном внутри корпуса. Такие огнетушители менее трудоемки в эксплуатации, имеют более простую конструкцию, но требуют более повышенной герметичности.
Технические характеристики
| Наименование показателей | Значение показателей | ||
| ОПУ-5 | ОПУ-10 | ||
| Вместимость корпуса, л | 5 | 10 | |
| Масса и марка применяемого огнетушащего порошкового состава, кг: |
|
| |
| П-2АП | 4,0 | 8,0 | |
| Пирант-А | 3,8 | 7,5 | |
| Пирант-АН | 4,0 | 8,0 | |
| Продолжительность приведения огнетушителя в действие, не более, с | 5,0 | ||
| Масса огнетушителя снаряженного, не более, кг (без кронштейна) | 8,8 | 15,0 | |
| Огнетушащая способность при тушении модельного очага пожара | кл. А | 4А | 4А |
| кл. В, (м2) | 1,73 (55В) | 4,52 (144В) | |
| Диапазон температур хранения, °C | От минус 50 до плюс 50 | ||
| Рабочее давление в корпусе огнетушителя, МПа (кгс/см2) | 0,8 (8) | ||
| Усилие приведения огнетушителя в действие, не более, Н (кгс) | 90 (9) | ||
| Длина струи огнетушащего вещества эффективная, не менее, м | 5,0 | 5,5 | |
| Масса огнетушителя неснаряженного не более, кг (без кронштейнов) | 3,8 | 5,0 | |
| Продолжительность подачи огнетушащего вещества, с | 10 ± 2 | 15 ± 3 | |
| Габаритные размеры, мм | Высота 440, | Высота 415, | |
| диаметр 150 | диаметр 210 | ||
| Длина шланга (с насадкой), мм | 515 ± 15 | ||
| Установленный срок службы до освидетельствования, лет | 2,0 | ||
| Установленный срок службы до списания, лет | 10,0 | ||
Технические характеристики огнетушителей с газогенерирующим устройством
| Наименование показателей | Значение показателей | ||
| ОП-5(г) | ОП-10(г) | ||
| Масса и марка применяемого огнетушащего порошкового состава, кг: |
|
| |
| П-2АП и П-2АПМ | 4,0 | 8,5 | |
| Пирант-А | 3,8 | 8,0 | |
| Пирант-АН | 4,0 | 8,5 | |
| ПСБ-3М | 4,0 | 9,0 | |
| Вексон АВС | 3,8 | 8,0 | |
| Огнетушащая способность при тушении модельного очага пожара | кл. А | 4А | 4А |
| кл. В,(м2) | 1,73 (55В) | 4,52 (144В) | |
| Продолжительность приведения огнетушителя в действие, с, не более | 20 | ||
| Масса огнетушителя снаряженного, кг, не более | 8,0 | 15,0 | |
| Габаритные размеры, мм, не более | Высота 440, | Высота 520, | |
| диаметр 150 | диаметр 190 | ||
| Диапазон температур хранения, °C | от минус 50 до плюс 50 | ||
| Рабочее давление в корпусе огнетушителя, МПа (кгс/см2) | 0,8 (8) | ||
| Длина струи огнетушащего вещества эффективная, м, не менее | 3,0 | 4,5 | |
| Продолжительность подачи огнетушащего вещества, с, не менее | 8 | 12 | |
| Установленный срок службы до освидетельствования, лет | 2,0 | ||
| Установленный срок службы до списания, лет | 10,0 | ||
Б.3.2 Устройство огнетушителей порошковых ОП-5ТМ и ОП-10ТМ (транспортный вариант) приведен на рис. Б.6.

1 - корпус; 2 - головка; 3 - химический источник газа; 4 - кнопка запуска; 5 - боек;
6 - шланг гибкий; 7 - клапан; 8 - крышка; 9 - ручка привода клапана;
10 - рукоятка для переноса; 11 - трубка сифонная; 12 - сопло; 13 - чека
Рис. Б.6 - Огнетушители порошковые ОП-5ТМ и ОП-10ТМ
Порядок приведения огнетушителя в действие
Для приведения огнетушителя в действие необходимо:
- выдернуть чеку;
- резко ударить по кнопке запуска;
- направить сопло шланга на очаг пожара;
- нажать на ручку привода клапана.
Принцип действия огнетушителя
После приведения огнетушителя в действие, рабочий газ поступает в корпус огнетушителя и вытесняет порошок, который по сифонной трубке поз. 11 подается в полость клапана. При нажатии на ручку привода клапана поз. 9 происходит открытие клапана поз. 7 и выброс порошка через гибкий шланг.
Принцип работы головки поз. 2 позволяет выпускать порошок порциями. Порошок, попадая на горящее вещество, изолирует его от кислорода воздуха.
Данные огнетушители относятся к группе огнетушителей, у которых газ находится в отдельном баллоне высокого давления, размещенном внутри корпуса. Такие огнетушители менее трудоемки в эксплуатации, имеют более простую конструкцию, но требуют более повышенной герметичности.
Технические характеристики огнетушителей порошковых (транспортный вариант)
| Наименование показателей | Значение показателей | ||
| ОП-5ТМ | ОП-10ТМ | ||
| Марка огнетушащего порошка | П-2АП, Пирант-А, Пирант-АН, ПСБ-3М, Вексон-АВС | ||
| Масса огнетушащего вещества, кг | 3,8 | 8,5 | |
| Огнетушащая способность при тушении модельного очага пожара | кл. А | 2А | 3А |
| кл. В,(м2) | 1,73 (55В) | 2,8 (89В) | |
| Длина струи огнетушащего вещества, м | 4,0 | 4,0 | |
| Продолжительность подачи огнетушащего вещества, с | 9 | 12,0 | |
| Источник рабочего газа | ХИГ | ||
| Материал корпуса | Металл | ||
| Диапазон рабочих температур, °С | от минус 50 до плюс 50 | ||
| Габаритные размеры, мм | Высота 390, | Высота 440, | |
| диаметр 175 | диаметр 150 | ||
| Масса огнетушителя полная, кг | 8,8 | 15 | |
| Средний срок службы, лет | 10 |
| |
Б.3.3 Устройство огнетушителей порошковых закачных ОП-5(з) и ОП-10(з) приведено на рис. Б.7.

1 - корпус; 2 - трубка сифонная 3 - клапан; 4 - рукоятка для переноса; 5 - чека; 6 - ручка запуска; 7 - индикатор давления (манометр); 8 - запорно-пусковая головка; 9 - шланг гибкий;
10 - стрелка индикатора давления.
Рис. Б.7 - Огнетушители порошковые закачные ОП-5(з) и ОП-10(з)
Порядок приведения огнетушителя в действие
Для приведения огнетушителя в действие необходимо:
- выдернуть чеку;
- направить сопло шланга на очаг пожара;
- нажать на ручку запуска.
Принцип действия огнетушителя
После приведения огнетушителя в действие (нажатие на ручку запуска поз. 6) порошок по сифонной трубке поз. 2 подается в гибкий шланг поз. 9 через которые происходит выброс порошка.
Принцип работы запорно-пусковой головки поз. 8 позволяет выпускать порошок порциями.
Закачные огнетушители относятся к группе огнетушителей, у которых внутри корпуса создано высокое давление сжатым воздухом. Такие огнетушители удобны в эксплуатации, менее сложные запорно-пусковые устройства, имеют визуальный индикатор давления поз. 7, но требуют повышенной герметичности. При нормальном давлении стрелка поз. 10 должна находиться в рабочем диапазоне давления (зеленая зона шкалы).
Технические характеристики огнетушителей порошковых закачных
| Наименование показателей | Значение показателей | ||
| ОП-5(з) | ОП-10(з) | ||
| Марка огнетушащего порошка | П-2АПМ, Пирант-А, ПСБ-3М, Вексон-АВС | ||
| Вместимость корпуса огнетушителя, л, не менее | 5 | 10 | |
| Масса заряда огнетушащего порошка, кг, не менее | 4 | 8,5 | |
| Огнетушащая способность при тушении модельного очага пожара | кл. А | 2А | 4А |
| кл. В,(м2) | 55В (1,73) | 144В (4,52) | |
| Рабочее давление в корпусе огнетушителя, МПа (кгс/см2) | 1,6 (16) | 1,4 (14) | |
| Длина порошковой струи, м, не менее | 3,5 | 4,5 | |
| Время приведения огнетушителя в действие, с, не более | 5 | ||
| Время выхода порошка, с, не менее | 6 | 10 | |
| Максимальная продолжительность действия огнетушителя при прерывистой подаче порошка, с, не менее | 120 | ||
| Диапазон рабочих температур, °С | от минус 40 до плюс 50 | ||
| Габаритные размеры, мм | Высота 450, | Высота 678, | |
| Диаметр 310 | Диаметр 350 | ||
| Масса огнетушителя полная, кг, в пределах | 6,0-6,6 | 12,5-14 | |
| Время между техническим обслуживанием | один раз в год | ||
| Средний срок службы, лет | 10 | ||
Б.4 Огнетушители воздушно-пенные, воздушно-пенные закачные, водные мелкодисперсные
Б.4.1 Воздушно-пенные огнетушители ОВП-5 и ОВП-10 предназначены для тушения пожаров и загораний твердых веществ (класс А) и легковоспламеняющихся жидкостей (класс В).
Не допускается применение данных огнетушителей для тушения горящих щелочных металлов и электроустановок, находящихся под напряжением, а также загораний веществ, горение которых происходит без доступа воздуха.
Устройство огнетушителя ОВП-5 приведено на рис. Б.8.

1 - трубка сифонная; 2 - корпус; 3 - рукав; 4 - баллон для рабочего газа; 5 - крышка; 6 - насадок
Рис. Б.8 - Огнетушитель воздушно-пенный ручной ОВП-5
Порядок приведения огнетушителей в действие
Для приведения огнетушителя в действие необходимо:
- выдернуть чеку;
- нажать на рычаг;
- направить насадок пеногенератора на очаг пожара;
- нажать рукоятку насадка.
Принцип действия огнетушителя
Работа огнетушителя основана на использовании энергии химического источника газа для аэрирования и выброса огнетушащего состава (водного раствора).
Под крышкой 1 размещен пусковой механизм для прокалывания мембраны газового баллона и каналы для выхода рабочего газа (двуокись углерода), к которому привернута сифонная трубка 2. Крышка с баллоном для рабочего газа 3 крепится на горловине корпуса с помощью гайки.
Двуокись углерода из баллона через каналы и сифонную трубку проникает в корпус и выдавливает раствор пенообразователя. Для выпуска раствора достаточно нажать на рукоятку насадка пеногенератора. При этом открывается клапан и раствор пенообразователя, проходя через насадок, образует пену средней кратности.
В месте соединения боковой сифонной трубки 7 с гибким шлангом 4 находится защитная полиэтиленовая мембрана 6, предотвращающая доступ влаги из воздуха внутрь огнетушителя.
Если рукоятка нажата длительное время, заряд выбрасывается полностью и непрерывно. Отпуская периодически рукоятку насадка, можно заряд выпустить по частям, импульсами.
Устройство огнетушителя ОВП-10 приведено на рис. Б.9.
Принцип действия огнетушителя ОВП-10 аналогичен ОВП-5

1 - корпус; 2 - трубка сифонная; 3 - баллон для рабочего газа; 4 - ручка для переноски;
5 - предохранительная чека 6 - головка с кнопкой запуска; 7 - шланг гибкий;
8 - рукоятка насадка; 9 - насадок пеногенератора; 10 - водный раствор пенообразователя
Рис. Б.9 - Огнетушитель воздушно-пенный ОВП-10
Порядок приведения огнетушителя в действие
Для приведения огнетушителя в действие необходимо:
- выдернуть чеку;
- резко ударить по кнопке запуска;
- направить насадок пеногенератора на очаг пожара;
- нажать на рукоятку насадка.
Технические характеристики огнетушителей воздушно-пенных
| Наименование показателей | Значение показателей | ||
| ОВП-5 | ОВП-10 | ||
| Вместимость корпуса, л | 5 | 10 | |
| Объем раствора ОТВ, л | 4,5 | 9,0 | |
| Огнетушащая способность при тушении модельного очага пожара | кл. А | 1А | 2А |
| кл. В, (м2) | 34В (1,07) | 55В (1,73) | |
| Длина струи огнетушащего вещества, м | 3,0 | 3,5 | |
| Продолжительность подачи огнетушащего вещества, с | 30 | 40 | |
| Рабочее давление, МПа (кгс/см2) | 1,2 (12) | 1,17 (12) | |
| Кратность пены по генератору | Низкая - средняя | Низкая - средняя | |
| Диапазон рабочих температур, °С | от плюс 5 до 50 | от плюс 5 до 50 | |
| Габаритные размеры, мм | Высота 415, | Высота 690, | |
| Диаметр 150 | Диаметр 175 | ||
| Масса огнетушителя полная, кг | 7,4 | 16 | |
| Средний срок службы, лет | 10 | 10 | |
| Срок между переосвидетельствованиями, год | 1 | 1 | |
Б.4.2 Огнетушители воздушно-пенные закачные ОВП-5(з) и ОВП10(з) имеют устройство аналогично порошковым закачным (см. рис. Б.7), только вместо порошка они заправляются водным раствором, а на гибком шланге имеется насадок с пенообразующим устройством.

Рис. Б.10 - Огнетушители ОВП-5(з) и ОВП-10(з)
Порядок приведения и принцип действия огнетушителей ОВП-5(з) и ОВП-10(з) аналогичен порошковым закачным огнетушителям.
Технические характеристики огнетушителей воздушно-пенных закачных
| Наименование показателей | Значение показателей | ||
| ОВП-5(з) | ОВП-10(з) | ||
| Марка и масса огнетушащего вещества (ОТВ): углеводородный заряд по ТУ 4854-050-0857830, кг: | 1,0 | 2,0 | |
| Вместимость корпуса, л | 5,12 | 10,25 | |
| Объем раствора ОТВ, л | 4,0 | 8,0 | |
| Огнетушащая способность при тушении модельного очага пожара | кл. А | 1А | 2А |
| кл. В,(м2) | 34В (1,07) | 55В (1,73) | |
| Длина струи огнетушащего вещества, м | 3,0 | 3,0 | |
| Продолжительность подачи огнетушащего вещества, с | 30 | 40 | |
| Кратность пены по генератору | Низкая - средняя | Низкая - средняя | |
| Диапазон рабочих температур, °С | от 5 до 50 | от 5 до 50 | |
| Габаритные размеры, мм | Высота 415, | Высота 510, | |
| Диаметр 150 | Диаметр 184 | ||
| Масса огнетушителя полная, кг | 7,4 | 13,7 | |
| Средний срок службы, лет | 10 | 10 | |
| Срок между переосвидетельствованиями, год | 1 | 1 | |
Б.4.3 Огнетушители водные мелкодисперсные ОВМ-5 и ОВМ-10 используются как первичные средства пожаротушения пожаров классов А (твердые горючие материалы), В (горючие жидкости и твердые плавящиеся материалы), С (горючие газы).
Огнетушители не применяются для тушения электроустановок под напряжением и щелочных металлов.

1 - корпус; 2 - головка; 3 - рукав; 4 - рукоятка; 5 - ороситель; 6 - ручка; 7 - скоба; 8 - прокладка;
9 - фильтр; 10 - штуцер; 11 - втулка; 12 - трубка сифонная; 13 - мембрана; 14 - прокладка;
15 - игла пусковая; 16 - чека предохранительная; 17 - баллон пусковой; 18 - мембрана;
19 - сухарь; 20 - втулка прижимная; 21 - штуцер; 22 - прокладка
Рис. Б.11 - Огнетушитель ОВМ-5 (ОВМ-10)
Порядок приведения огнетушителя в действие
Для приведения огнетушителя в действие необходимо:
- выдернуть чеку;
- направить ороситель на очаг пожара;
- нажать на диск пусковой иглы.
Принцип действия огнетушителя
Средством вытеснения заряда из огнетушителя является диоксид углерода, который одновременно подается в струю жидкости перед распылением, что обеспечивает возможность формирования газожидкостной струи с заданными параметрами.
Баллончик с диоксидом углерода расположен внутри корпуса огнетушителя, где рабочее давление не превышает 1,2 МПа (12 кгс/см2). В качестве заряда используется чистая вода либо водный раствор поташа (К2СО3), что позволяет эксплуатировать огнетушитель при температурах от минус 25 до плюс 50 °С. Заряд огнетушителя удовлетворяет требованиям по экологической чистоте.
Технические характеристики
| Наименование показателей | Значение показателей | ||
| ОВМ-5 | ОВМ-10 | ||
| Вместимость корпуса, л | 5+0,2 | 10+0,3 | |
| Масса заряженного огнетушителя, кг | 13,0 | 20,0 | |
| Огнетушащая способность при тушении модельного очага пожара | кл. А | 0,5А | 1,0А |
| кл. В (м2) | 21В (0,65) | 34В (1,1) | |
| Рабочее давление, МПа (кгс/см2) |
| ||
| в корпусе огнетушителя | 1,2 (12) | ||
| в пусковом баллоне | 15 (150) | ||
| Пробное давление, МПа (кгс/см2), при испытании: |
| ||
| на герметичность | 1,2+0,05 (12+0,5) | ||
| на прочность | 1,8+0,05 (18+0,5) | ||
| Продолжительность приведения огнетушителя в действие, не более, с | 2 | ||
| Продолжительность подачи огнетушащего вещества, не менее, с | 30 | 40 | |
| Огнетушащее вещество | Водный раствор антифриза | ||
| Масса огнетушащего вещества, кг | 6,75±0,2 | 13,5±0,3 | |
| Масса антифриза в огнетушащем веществе, кг | 3,0±0,1 | 6,0±0,15 | |
| Инициатор давления - пусковой баллон с СО2: |
|
| |
| вместимость, см3 | 200±20 | 400±40 | |
| масса СО2, г | 120±12 | 240±24 | |
| Газогенератор - масса, не более, г | 270 | 340 | |
| Относительная огнетушащая способность по классификации МС ИСО 3941-77 | 3А21В | 5А34В8С | |
| Габаритные размеры, не более, мм | 460´225´175 | 640´225´175 | |
| Длина шланга, не менее, мм | 500 | 500 | |
| Длина струи огнетушащего вещества, не менее, м | 3,0 | 4,0 | |
Б.5 Огнетушители воздушно-эмульсионные закачные
Огнетушители воздушно-эмульсионные закачные ОВЭ-5(з)-АВС-02 предназначены для тушения пожаров твердых горючих веществ (класс А), горючих жидкостей (класс В) и электрооборудования, находящегося под напряжением до 1000 В (класс Е).
Огнетушители не предназначены для тушения пожаров класса D (горение металлов или металлоорганических веществ).
Общий вид и устройство воздушно-эмульсионного огнетушителя приведено на рис. Б.12.

1 - корпус; 2 - головка; 3 - сифонная трубка; 4 - фильтр; 5 - рычаг запорно-пускового механизма (ЗПУ); 6 - индикатор давления; 7 - предохранительная чека; 8 - пломба; 9 - шланг;
10 - распылительное сопло; 11 - рукоятка для переноса огнетушителя
Рис. Б.12 - Огнетушитель воздушно-эмульсионный ОВЭ-5(з)
Порядок приведения огнетушителя в действие
Для приведения огнетушителя в действие необходимо:
- выдернуть чеку;
- направить распылительное сопло на очаг пожара;
- нажать на рычаг ЗПУ.
Принцип действия огнетушителя
Принцип действия огнетушителя основан на использовании энергии сжатого воздуха для подачи огнетушащего вещества на очаг пожара.
Контроль давления в огнетушителе - визуальный по показаниям индикатора давления. Стрелка индикатора должна находиться в зеленом секторе шкалы. Положение стрелки индикатора в красном секторе шкалы указывает на недостаточное или избыточное давление в корпусе огнетушителя.
Технические параметры и характеристики огнетушителей
| Наименование показателей | Значение показателей |
| ОВЭ-5(3)-АВE-02 | |
| Вместимость корпуса огнетушителя, л | 7,0 |
| Марка огнетушащего вещества (ОТВ) | Водный раствор |
| Объем ОТВ, л | 5,0 |
| Продолжительность приведения огнетушителя в действие, с, не более | 6,0 |
| Рабочее давление в корпусе огнетушителя, МПа | 1,85 |
| Продолжительность подачи ОТВ, с, не менее | 10 |
| Длина струи ОТВ, м, не менее | 6,0 |
| Огнетушащая способность модельного очага пожара: |
|
| - по классу А | 6А |
| - по классу В | 183В |
| - по классу Е | до 1000В |
| Диапазон температур эксплуатации огнетушителя | от минус 40 до плюс 50 °С |
| Габаритные размеры огнетушителя, мм, не более: |
|
| - высота | 570 |
| - диаметр корпуса | 150 |
| Масса заряженного огнетушителя, кг, не более | 10 |
| Назначенный срок службы, лет | 10 |
Б.6 Правила работы с огнетушителями
| Правила работы с огнетушителями | Правильно | Неправильно |
| Тушить очаг пожара с наветренной стороны |
|
|
| При проливе ЛВЖ тушение начинать с передней кромки, направляя струю порошка на горящую поверхность, а не на пламя |
|
|
| Истекающую жидкость тушить сверху вниз |
|
|
| Горящую вертикальную поверхность тушить сверху вниз |
|
|
| При наличии нескольких огнетушителей необходимо применять их одновременно |
|
|
| Следите, чтобы потушенный очаг не вспыхнул снова (никогда не поворачивайтесь к нему спиной) |
|
|
| После использования огнетушители сразу необходимо отправить на перезарядку |
|
|
Б.7 Генераторы огнетушащего аэрозоля оперативного применения
Генераторы огнетушащего аэрозоля оперативного применения АГОС-5 (далее генераторы) предназначены для локализации (пожара подкласса А1) и тушения пожаров (подкласса А2 и В) твердых горючих материалов, легковоспламеняющихся и горючих жидкостей, электроизоляционных материалов и электрооборудования, в том числе под напряжением, в помещениях производственных, административных и жилых зданий и сооружений, на железнодорожном и автомобильном транспорте, морских и речных судах и т.п.
Технические характеристики
| Масса снаряженного генератора | не более 6 кг |
| Условно-герметичный защищаемый объем | 84 м3 |
| Рекомендуемый защищаемый объем | до 65 м3 |
| Время задержки срабатывания | от 6,4 до 9,6 с |
| Время работы | 30+-4 с |
| Габаритные размеры: |
|
| - диаметр | 225 мм |
| - высота | 108 мм |
| - максимальный габаритный размер | 280 мм |
| Система приведения в действие | ручная |
| Температурные зоны: |
|
| - > 400 °С | < 0,25 м |
| - > 200 °С | < 0,6 м |
| - > 75 °С | < 1,6 м |
| Условия эксплуатации: |
|
| - температура | от -50 до +50 °С |
| - относительная влажность | до 98% |
| Количество тепла, выделяемое при работе генератора | - 3200 кКал. |
На рис. Б.13. приведено устройство генератора.

1 - корпус; 2 - аэрозолеобразующий заряд; 3 - теплозащитный слой; 4 - втулка узла пуска;
5 - узел запуска; 6 - рукоятка; 7 - щелевое сопло; 8 - защитный колпачок; 9 - шнур с петлей
Рис. Б.13 -Устройство генератора огнетушащего аэрозоля АГОС-5
Генератор состоит из корпуса (1), в котором размещены два аэрозолеобразующих заряда (2), отделенных от корпуса теплозащитным слоем (3). На боковой поверхности корпуса имеется втулка узла пуска (4) с защитным колпачком на резьбе (8), под которым находится шнур с петлей (9). Для переноски и забрасывания генератора в горящее помещение к корпусу прикреплена рукоятка (6). Выход огнетушащего аэрозоля осуществляется через щелевое сопло (7), расположенное по всей боковой поверхности корпуса.
Для приведения генератора в действие необходимо:
- одной рукой взять генератор за рукоятку;
- опустить генератор вертикально вниз, свободной рукой снять (отвинтить по резьбе) защитный колпачок с втулки узла запуска;
- освободить шнур и резко дернуть за петлю;
- забросить генератор в горящее помещение.
Замедляющий состав в узле пуска обеспечивает задержку срабатывания генератора на 7-10 секунд, необходимые для его безопасного забрасывания в горящее помещение.
При срабатывании узла пуска раздается характерный звук, и из дренажного отверстия на его корпусе появляется струйка дыма.
Внимание! После выдергивания веревочной петли узла запуска обязательно должен быть произведен немедленный заброс генератора, даже если нет уверенности, что узел запуска сработал.
При эксплуатации генераторов следует руководствоваться требованиями безопасности, приведенными в "Руководстве по эксплуатации генератора огнетушащего аэрозоля оперативного применения АГОС-5".
Генераторы "АГОС-5" должны использоваться работниками железнодорожного транспорта, прошедшими инструктаж по их применению.
Механизм приведения генератора в действие должен быть снабжен блокировочным или защитным устройством (колпачком), исключающим несанкционированное срабатывание.
Периодические испытания генераторов проводят не реже одного раза в три года.
Приложение В
(обязательное)
СОДЕРЖАНИЕ И ОБСЛУЖИВАНИЕ ОГНЕТУШИТЕЛЕЙ
В.1 Содержание и обслуживание огнетушителей осуществляется согласно требованиям Свода правил "Техника пожарная. Огнетушители. Требования к эксплуатации" утверждены Приказом МЧС России от 25.03.2009 г. № 179 и должно отвечать требованиям "Правил устройства и безопасной эксплуатации сосудов, работающих под давлением" ПБ 03-576-03 утвержденных Гостехнадзором России от 11.06.03 № 91, инструкций по эксплуатации, руководств или паспортов предприятий-изготовителей и другой действующей нормативно-технической документации.
В.2 К введению в эксплуатацию в вагонах допускаются только полностью заряженные и опломбированные огнетушители, снабженные биркой с указанием даты (месяц и год) зарядки и даты очередной перезарядки, контроля и технического освидетельствования. Эти данные допускается вместо бирки наносить на корпус огнетушителя с противоположной стороны насадка штемпельной краской.
В.3 Техническое освидетельствование, а также перезарядка и ремонт должны выполняться в мастерских или специализированных организациях, имеющих соответствующее разрешение органов Гостехнадзора России.
В.4 Огнетушители воздушно-пенные ОВП-5, ОВП-10.
Проверка целостности мембраны спрыска производится не реже одного раза в месяц.
Контроль состояния заряда и антикоррозийных покрытий - один раз в год.
Переосвидетельствование корпуса с гидравлическими испытаниями на прочность:
1) 0,5 МПа (5 кгс/см2) - через 1,5 года после начала эксплуатации на 25% огнетушителей.
2) 1,0 МПа (10 кгс/см2) - через 2 года после начала эксплуатации на 50%.
3) 2,0 МПа (20 кгс/см2) - один раз в год при дальнейшей эксплуатации на 100%.
Перезарядка - 1 раз в год.
В.5 Огнетушители порошковые ОП-5, ОП-10 и др. аналогичного типа.
Проверка крепления огнетушителя в кронштейне, плотности закрытия отверстия для засыпки порошка и крепления насадка-пистолета производится не реже одного раза в месяц.
Контроль качества порошка, массы заряда в баллончике и состояние лакокрасочных покрытий - 1 раз в год.
Переосвидетельствование корпуса с гидравлическими испытаниями на прочность - через 5 лет эксплуатации.
Перезарядка - 1 раз в 5 лет.
В.6 Огнетушители углекислотные ОУ-5, ОУ-6.
Контроль массы заряда огнетушителей производится не реже 1 раза в год.
Переосвидетельствование баллонов с гидравлическими испытаниями на прочность - через 5 лет эксплуатации.
В.7 Огнетушитель воздушно-эмульсионный ОВЭ-5.
Не допускается размещать огнетушитель вблизи нагревательных приборов, в зоне действия прямых солнечных лучей, и атмосферных осадков.
Периодически не менее одного раза в месяц необходимо проверять давление в корпусе огнетушителя по индикатору давления. Если стрелка индикатора давления вышла за левую границу зеленого сектора шкалы, огнетушитель необходимо отправить на перезарядку.
Перезарядка огнетушителя производится один раз в 5 лет. Общее количество перезарядок - не более 20.
Переосвидетельствование огнетушителя не реже 1 раза в 5 лет.
Данные о техническом обслуживании, ремонте и перезарядке огнетушителей вводятся в паспорт.
В.8 Запрещается:
- проводить любые виды ремонтных работ или разборку элементов конструкции огнетушителей находящихся под давлением, а также нанесение ударов по ним;
- допускать в эксплуатацию огнетушители с глубокими забоинами, вмятинами и ржавчиной на корпусе.
Корпуса огнетушителей, давшие при эксплуатации или при испытаниях течь, ремонту не подлежат и снимаются с эксплуатации.
В.9 Укомплектование вагонов огнетушителями с истекшими сроками технического освидетельствования, а также несвоевременное переосвидетельствование огнетушителей, находящихся в эксплуатации, запрещается.
В.10 Лица, имеющие непосредственное отношение к огнетушителям, должны быть обучены обращению с ними, знать и соблюдать правила техники безопасности при работе со сжатыми газами согласно Правилам устройства и безопасной эксплуатации сосудов, работающих под давлением.
В.11. Ответственность за правильное содержание и своевременное техническое освидетельствование огнетушителей возлагается на главных инженеров депо (участков), о чем издается соответствующий приказ начальника депо (участка).
Приложение Г
(справочное)
УСТАНОВКА ПОЖАРНОЙ СИГНАЛИЗАЦИИ И ВОДЯНОГО ПОЖАРОТУШЕНИЯ ПАССАЖИРСКОГО ВАГОНА
Г.1 Установка пожарной сигнализации
Г.1.1 Общие сведения
Установка пожарной сигнализации (УПС) пассажирского вагона (далее по тексту - установка) предназначена для раннего автоматического обнаружения признаков загорания в помещениях или служебных отсеках вагона, оповещения служебного персонала с указанием адреса, где произошло тревожное событие.
Установка может выполнять следующие дополнительные функции:
а) охрану вагона, в том числе и купе;
б) вызов обслуживающего персонала;
в) включение установи пожаротушения (УПТ) при ее наличии в вагоне.
Установка включает в себя следующие устройства:
1) приемно-контрольный прибор (ППК), выполняющий опрос и управление всеми подключенными к нему устройствами, выдачу сообщения об их состоянии;
2) комплект пожарных извещателей (ИП), предназначенных для обнаружения возгорания. Количество и состав ИП определяются модификацией и исполнением установки, соответствующими определенному типу вагона.
По пожеланию заказчика к установке дополнительно могут подключаться следующие устройства:
- охранные извещатели (ИО), предназначенные для обнаружения несанкционированного проникновения в вагон и купе;
- кнопки вызова (например: вызов проводника из купе);
- приборы управления (ПУ), предназначенные для управления УПТ.
Связь ППК с установленными в вагонах ИП, ИО и кнопками вызова осуществляется по проводам шлейфа сигнализации (ШС) (на каждый вагон (купе) - свой ШС), а связь ППК с ПУ или другими возможными устройствами, отвечающими определенным требованиям, - по специальной линии связи.
Установка обеспечивает:
1) подачу звукового и светового сигналов, указывающих на адрес защищаемого вагона (купе), а также дублирование их речевыми сообщениями, при возникновении следующих событий:
- неисправность ШС - короткое замыкание (КЗ), обрыв проводов или снятие ИП, неправильное подключение полярности ИП;
- срабатывание ИП;
- срабатывание ИО при взятом под охрану объекта;
- нажатие кнопки вызова на объекте;
- неисправность линий связи или ПУ;
- неисправность ППК (отказ исполнительных схем);
2) регистрацию и хранение происшедших событий в памяти с указанием адреса и времени их возникновения;
3) самоконтроль работоспособности исполнительных схем.
Установка позволяет:
- просмотреть запомненные события на дисплее ППК;
- дистанционно управлять внешними устройствами (отключение или подключение защищаемых вагонов и взятие их под охрану, ручной запуск УПТ при его наличии и т.д.);
- отключить звуковой сигнал;
- оперативно проконтролировать световую и звуковую сигнализацию.
Г.1.2 Описание конструкции и режимов работы установки
Г.1.2.1 Приемно-контрольный прибор
Приемно-контрольный прибор (ППК) конструктивно состоит из приборного блока и монтажного модуля, конструктивно объединенных корпусом.
Через монтажный модуль осуществляется подключение проводов внешнего монтажа, электрически связывающих воедино всю установку. Приборный блок подключается к монтажному модулю двумя жгутами.
На лицевой панели ППК размещаются дисплей, три кнопки управления (отключения звука, ГОТОВ, ПАМЯТЬ) и закрываемая лючком ниша с размешенными элементами управления: кнопка ВЫБОР, кнопки управления "1"..."1б" и движковые переключатели "ШС" "1"..."16". Лючок закрывается запорным устройством, открытие лючка осуществляется ключом доступа из комплекта ППК.
На дисплее все индикаторы разделены на следующие группы: мнемоническая схема вагона, табло, общие индикаторы состояния ППК. На мнемонической схеме вагона свечение индикатора определяет адрес, где произошло событие, высвечиваемое общим индикатором. На табло индицируется вспомогательная информация.
Г.1.2.2 Пожарные извещатели
В установке могут использоваться два типа извещателей: комбинированный (дымо-тепловой) и тепловой.
1) Конструкцию комбинированного извещателя условно можно разделить на две части: детекторного устройства и розетки. Соединение этих двух частей осуществляется установкой детекторного устройства в розетку и поворотом его по движению часовой стрелке до щелчка фиксатора.
В дежурном режиме индикатор извещателя не светится. При переходе в тревожный режим (срабатывании) индикатор извещателя начинает светиться.
2) Конструкцию теплового извещателя условно можно разделить на корпус и защитную крышку. Снятие крышки осуществляется поворотом ее против движения часовой стрелки с преодолением действия внутреннего фиксатора.
Дежурный режим теплового извещателя характеризуется кратковременным и периодическим свечением индикатора. Тревожный режим (срабатывание) извещателя характеризуется постоянным свечением индикатора.
Г.1.2.3 Охранные извещатели
В установке допускается применять любой охранный извещатель, работающий на размыкание "сухих" контактов при переходе в тревожный режим (контактный, инфракрасный объемный и т.д.).
Описание конструкции и принципа действия приводится в сопровождающей документации на охранный извещатель.
Г.1.3 Описание режимов работы установки
Установка может находиться в одном из следующих режимов работы:
1) "Дежурный" режим;
2) режим "Управление";
3) режим "Индикация события".
"Дежурный" режим
В дежурном режиме установка находится при отсутствии сработавших извещателей, исправности устройств из комплекта установки и связи между ними.
В дежурный режим установка переходит:
- по включению питания;
- по нажатию кнопки ГОТОВ при разрешенном доступе к ней;
- при исчезновении причины, вызвавшей неисправность.
Режим "Управление"
В режиме "Управление" пользователю предоставляется право вмешаться в работу установки путем ввода команды. Каждая модификация установки имеет определенный перечень команд.
Ввод команды осуществляется элементами, часть которых размещается в закрываемой лючком нише на лицевой панели ППК. Открытие лючка осуществляется ключом доступа из комплекта ППК.
В режиме индикации события ППК установки помимо световой сигнализации включает звуковой сигнал и подсвечивает кнопку отключения звука. После нажатия кнопки отключения звука ППК включает речевое сообщение, дублирующее световую сигнализацию о происходящем событии. При отключении звукового сигнала по истечению определенного времени подсветка кнопки отключения звука переходит в режим прерывистого свечения, и нажатие этой кнопки приведет к включению речевого сообщения.
Вывод события на дисплей ППК осуществляется по приоритету. Наивысший приоритет имеет событие "Пожар", Далее следуют (в сторону уменьшения приоритета) события "Охрана", "Вызов", "Неисправность", "Внимание". Приоритет события, который сопровождается подачей звукового сигнала, выше, чем у события, у которого нет подачи звукового сигнала или подача сигнала перед этим была отключена нажатием кнопки отключения звука (например, установка будет индицировать событие "Неисправность ШС", если перед этим она индицировала событие "Пожар" с отключенным звуковым сигналом).
Установка осуществляет регистрацию и хранение в формате <событие><адрес><время> следующих событий: "Пожар", "Охрана", "Неисправность ШС (ВУ)", "Вызов", а также взятие под охрану или снятие с охраны вагонов, отключение ШС или ПУ, ручного пуска УПТ, включение питания ППК.
Г.1.4 Использование установки по назначению
В процессе эксплуатации установка:
- должна находиться во включенном состоянии, и она может находиться в одном из следующих режимов работы: "Дежурный режим", режим "Индикация события", режим "Управление";
- периодически проверяется на исправность работы и не допускается фактов ее отключения.
При обнаружении неисправности:
1) переведите установку в дежурный режим;
2) отключить неисправный ШС;
3) информировать проводника вагона, что установка работает и контролирует помещения вагона, за исключением помещения с отключенным шлейфом;
4) сделать запись в журнале об обнаруженных неисправностях, принятых мерах и доложить по окончанию рейса соответствующей службе для вызова на вагон специалиста.
Г.1.5 Техническое обслуживание установки
Техническое обслуживание и проверка технического состояния установки в процессе эксплуатации проводится специализированными подразделениями вагонных депо персоналом, изучившим руководство по эксплуатации установки.
Годовое техническое обслуживание и проверка технического состояния установки включает в себя следующие виды работ:
- просмотр и регистрация в журнале технического состояния на установку запомненных событий;
- проверку надежности крепления проводов под винтовыми соединениями и фиксации жгутовых соединений на ППК;
- удаления пыли из дымовых и тепловых камер пожарных извещателей и с поверхности линзы охранных извещателей;
- проверку работоспособности установки.
Проверка надежности крепления проводов под винтовыми соединениями проводятся при снятых из розеток извещателей, снятых линз с охранных извещателей.
Удаление пыли из камер пожарных извещателей проводится продувкой воздухом в течение одной минуты со всех сторон камеры, используя для этих целей пылесос или иной компрессор с давлением 0,5...2 кг/см2.
Протирку линз охранных извещателей проводить сухой мягкой ветошью. После проведения технического обслуживания провести проверку работоспособности установки.
В случае затруднений, возникших в текущем профилактическом обслуживании, возможно получение консультации со специалистами предприятия-изготовителя установки.
Г.2 Установка водяного пожаротушения
Г.2.1 Назначение установки
Установка водяного пожаротушения (далее по тексту - УВПТ) пассажирских вагонов является составной частью системы водоснабжения вагона и предназначена для тушения пожара в начальной ее стадии развития после обесточивания вагона.
Запрещается применять УВП для тушения электрооборудования находящегося под напряжением.
Г.2.2 Основные технические характеристики УВПТ
| Объем водяного бака УВПТ........................................... | 90 л |
Пожарный водяной насос постоянного тока марки ЭЦН-1,5-20-110:
| производительность........................................................ | 30 л/мин |
| давление создаваемое насосом...................................... | 1,5 кгс/см2 |
| Пожарный рукав: |
|
| количество........................................................................ | 2 шт. |
| длина, не менее................................................................ | 8 м |
| диаметр............................................................................. | 16 мм |
| Пожарный ствол с диаметром спрыска......................... | 9 мм |
| Диапазон температур эксплуатации.............................. | от 4 до 50 °С |
Г.2.3 Устройство и принцип действия УВПТ
УВПТ состоит из водяного бака, который связан с системой водоснабжения вагона с помощью постоянно отрытого крана и обратного клапана обеспечивающего постоянный уровень воды в баке, пожарного насоса, водяных труб диаметром 25 мм с быстродействующими кранами и насадками для присоединения пожарных рукавов (2-а поста).
При возникновении пожара необходимо вытащить из ниши рукав, одного из ближайших постов к пожару, и размотать его, затем открыть быстродействующий кран, включить пожарный насос и направить пожарный ствол на очаг пожара.
Г.2.4 Техническое обслуживание УВПТ
Техническое обслуживание УВПТ производится визуальным осмотром. При этом проверяется наличие рукавов и стволов, отсутствия подтекания быстродействующих кранов, повреждения выключателей пожарного насоса.
Обслуживание УВПТ производится при проведении технического обслуживания вагона ТО-2 и ТО-3.
Приложение Д
(справочное)
ОГНЕТУШИТЕЛЬ САМОСРАБАТЫВАЮЩИЙ ПОРОШКОВЫЙ (ОСП-1).
ЕГО УСТРОЙСТВО, РАБОТА И ТЕХНИЧЕСКОЕ ОБСЛУЖИВАНИЕ
Д.1 Назначение ОСП-1
Огнетушитель самосрабатывающий порошковый ОСП-1 предназначен для тушения огнетушащим порошком горючих жидкостей, газов, твердых материалов, электрооборудования находящегося под напряжением до 1000 В.
ОСП-1 не тушит щелочные и щелочноземельные вещества, горящие без воздуха.
Д.2 Основные технические характеристики ОСП-1
| Объем, защищаемый одним огнетушителем.................. | 5-8 м3 |
| Температурный порог срабатывания.............................. | плюс 100 °С |
| Масса огнетушителя, кг, не более................................... | 1,2 |
| Габаритные размеры (без кронштейна) мм: |
|
| длина, не более ................................................................. | 500 |
| диаметр не более .............................................................. | 54 |
| Диапазон температур эксплуатации............................... | от минус 50 до плюс 50 °С |
Д.3 Устройство и принцип действия ОСП-1
ОСП-1 представляет собой герметичный стеклянный сосуд, заполненный огнетушащим порошком и газообразователем.
При возникновении очага горения и достижении температуры в месте расположения ОСП-1 плюс 100 °C, газообразователь разлагается, давление в стеклянном сосуде возрастает, что приводит к разрушению сосуда и импульсному выбросу огнетушащего порошка.
Д.4 Подготовка огнетушителей к работе и их установка в пульт управления электрооборудованием вагона
Установка огнетушителя ОСП-1 в пульт осуществляется в соответствии с конструкторской документацией разработанной ПКБ ЦЛ.
Огнетушитель, установленный в специальном держателе, крепится горизонтально (рис. Д.1).

Рис. Д.1 - Схема установки огнетушителя ОСП-1
Для сохранения целостности стеклянных сосудов не допускается наносить удары по корпусу огнетушителя.
Запрещается установка и хранение ОСП-1 вблизи нагревательных и отопительных приборов и в местах, где температура может превышать плюс 50 °С.
Необходимо избегать длительного воздействия прямых солнечных лучей на огнетушитель при эксплуатации и хранении.
Запрещается установка и эксплуатация огнетушителей с трещинами на корпусе.
Перед установкой огнетушителя производится его проверка согласно Руководства по эксплуатации ОСП-1.
Д.5 Меры безопасности
При возникновении загораний в районе установки ОСП-1 или появлении его признаков (дым) допускается применение любых других первичных средств тушения (ручных огнетушителей, воды, пены), с соблюдением мер предосторожности от лопнувших осколков колбы.
При ликвидации пожара до срабатывания ОСП-1 работы, по его осмотру и демонтажу, производить после снижения температуры до нормальной, но не менее чем через 2 часа.
При производстве работ по установке ОСП-1 пульт управления электрооборудованием пассажирского вагона должен быть обесточен, при этом должно быть вывешено предупреждение в местах возможного включения "На пульте идут работы. Не включать".
Д.6 Техническое обслуживание ОСП-1
Техническое обслуживание ОСП-1 производится визуальным осмотром. При этом проверяется отсутствие механических повреждений колбы, надежность крепления держателя в скобах и соответствие установки ОСП-1 конструкторской документации, при необходимости колба протирается от грязи и пыли.
Обслуживание ОСП-1 производится при проведении технического обслуживания вагона ТО-2 и TO-3.
При техническом обслуживании необходимо провести следующие работы:
1) демонтаж ОСП-1 со скоб вместе с опломбированным держателем;
2) визуальный осмотр состояния стеклянного баллона и желтого слоя газообразователя.
При этом:
- стеклянный баллон не должен иметь трещин, осколков;
- слой газообразователя не должен быть перемешан с огнетушащим порошком;
- толщина однородного желтого слоя должна быть не менее 15 мм.
Проверить герметичность корпуса ОСП-1 путем погружения его в воду вертикально "носиком" вверх на глубину не менее 30 мм и выдержать в течение 1 мин.
При положительных результатах проверки ОСП-1 устанавливается на прежнее место.
При появлении пузырьков воздуха корпус огнетушителя считается негерметичным. ОСП-1 снимается с эксплуатации и утилизируется.
Утилизация осуществляется согласно порядку, установленному инструкцией ВНИИПО МЧС РФ.
Надзор за ОСП-1 осуществляется техническим персоналом, назначенным приказом гл. инженера депо или участка.
При отправлении вагонов в отстой огнетушитель ОСП-1 снимается со скоб вместе с опломбированным держателем и сдается в кладовую участка приписки вагона.
Приложение Е
(справочное)
САМОСПАСАТЕЛЬ ПРОМЫШЛЕННЫЙ ИЗОЛИРУЮЩИЙ СПИ-20
Самоспасатель изолирующий СПИ-20 (далее самоспасатель) используется для защиты органов дыхания, глаз, лица и кожных покровов головы от дыма и токсичных газов. Применяется при эвакуации в условиях пожара из зданий, торговых комплексов, жилых домов, больниц, интернатов, при авариях на всех видах транспорта, метро и других объектов массового пребывания людей.
Самоспасатель предназначен для автономного обеспечения дыхания человека газо-воздушной смесью в аварийной ситуации, а также полной защиты органов дыхания человека от окружающей среды с недостатком или полным отсутствием кислорода, в том числе с высоким содержанием опасных химических веществ.
Устройство самоспасателя приведено на рис. Е.1.
|
|
|
1 - патрон регенеративный; 2 - пусковое устройство; 3 - дыхательный мешок;
4 - гофрированная трубка; 5 - защитный колпак; 6 - ремень с пряжкой
Рис. Е.1 - Устройство самоспасателя промышленного изолирующего СПИ-20
Для приведения самоспасателя в действие необходимо нажать на пусковое устройство поз. 2.
Самоспасатель работает на принципе поглощения выдыхаемой человеком влаги и диоксида углерода химическим регенеративным продуктом при одновременном выделении из него кислорода. Кислород для дыхания поступает не из внешней среды, а выделяется внутри изолирующего аппарата. В отличие от изолирующих аппаратов, работающих на сжатом воздухе или кислороде, в данных средствах защиты используется химически связанный кислород, что позволяет длительно хранить их в состоянии готовности. Небольшой вес и размеры аппаратов позволяют постоянно носить их с собой.
Самоспасатель не требует соблюдения размерного ряда, так как оснащен универсальным по размерам защитным колпаком, который также позволяет использовать его людьми, имеющими бороду, прическу, усы и очки. Защитный колпак предохраняет голову и волосы при кратковременном контакте с открытым огнем.
Самоспасатель обеспечивает возможность ведения переговоров, он прост в обращении и не требует предварительного обучения по применению.
Самоспасатель имеет следующие показатели:
- по защитным характеристикам соответствует требованиям НПБ 169-2001;
- не требует размерного ряда, универсален;
- по истечении гарантийного срока принимается производителем на утилизацию.
Технические характеристики СПИ-20
| Наименование | Показатели |
| Время защитного действия, мин | не менее 40 |
| (в режиме ожидания) | |
| не менее 20 | |
| (в режиме средней нагрузки) | |
| Масса изделия, кг | не более 1,5 |
| Габаритные размеры, мм | 140´260´330 |
| (в футляре для стационарного крепления) | |
| 115´190´210 | |
| (в коробке) | |
| Температура вдыхаемой газовой смеси, °С | не более 45 |
| Температурный диапазон эксплуатации, °С | от 0 до +60 |
| Гарантийный срок хранения, лет | 5 |



















Комментарии ()